授权公布号:CN211256224U
一种机织地毯纱线进纱导向装置
有效
申请
2019-10-29
申请公布
1970-01-01
授权
2020-08-14
预估到期
2029-10-29
| 申请号 | CN201921827832.5 |
| 申请日 | 2019-10-29 |
| 授权公布号 | CN211256224U |
| 授权公告日 | 2020-08-14 |
| 分类号 | D03D49/06;D03J1/04 |
| 分类 | 织造; |
| 申请人名称 | 圣源地毯集团有限公司 |
| 申请人地址 | 青海省西宁市城南新区同安路111号 |
专利法律状态
2020-08-14
授权
状态信息
授权
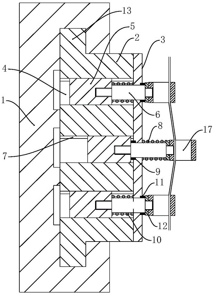
摘要
本实用新型公开了一种机织地毯纱线进纱导向装置,包括底座和设置在底座上的多个导向机构,导向机构并排设置在底座上,所述导向机构包括基础件和设置在基础件上的三个导向组件,基础件上并列设置有三个导向孔,导向组件分别设置在导向孔内与导向孔之间滑动配合连接,所述导向组件上分别设置有导向环,位于中间的导向环与位于两侧的导向环的轴线位于不同的轴线上,位于中间的导向环与基础件之间设置有第一弹性件,使位于中间的导向环可朝导向孔方向运动。该装置将每组导向机构设置为独立的结构,使装置的结构更加简单,加工、装配更加方便,适用于装置的批量化生产和应用。


