授权公布号:CN210561150U
一种簇绒机停机装置及簇绒机
有效
申请
2019-08-30
申请公布
1970-01-01
授权
2020-05-19
预估到期
2029-08-30
| 申请号 | CN201921431453.4 |
| 申请日 | 2019-08-30 |
| 授权公布号 | CN210561150U |
| 授权公告日 | 2020-05-19 |
| 分类号 | D05C15/16 |
| 分类 | 缝纫;绣花;簇绒; |
| 申请人名称 | 江苏开利地毯股份有限公司 |
| 申请人地址 | 江苏省常州市溧阳市昆仑经济开发区内 |
专利法律状态
2020-05-19
授权
状态信息
授权
摘要
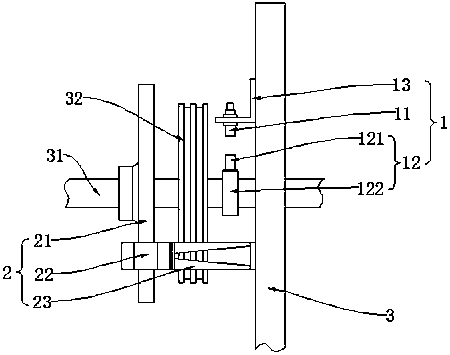
本实用新型提供一种簇绒机停机装置及簇绒机,涉及纺织机械技术领域,包括距离检测装置、减速装置和控制装置;其中所述距离检测装置用于检测机针的高位位置;所述减速装置设置于簇绒机本体的主轴上;所述距离检测装置、所述减速装置均与所述控制装置信号连接。本实用新型提供的簇绒机停机装置,通过使簇绒机于机针的高位位置停机,来避免因纱线松弛而在簇绒织物的绒面上产生停机痕迹。


