授权公布号:CN204039804U
一种布料烫平烘干机
有效
申请
2014-09-02
申请公布
1970-01-01
授权
2014-12-24
预估到期
2024-09-02
| 申请号 | CN201420502595.6 |
| 申请日 | 2014-09-02 |
| 授权公布号 | CN204039804U |
| 授权公告日 | 2014-12-24 |
| 分类号 | D06F73/00;D06G1/00 |
| 分类 | 织物等的处理;洗涤;其他类不包括的柔性材料; |
| 申请人名称 | 浙江钱皇网络科技股份有限公司 |
| 申请人地址 | 浙江省嘉兴市桐乡市洲泉镇屈家浜村钱家角 |
专利法律状态
2015-12-23
专利申请权、专利权的转移
状态信息
专利权的转移;IPC(主分类):D06F73/00;登记生效日:20151203;变更事项:专利权人;变更前:张健健;变更后:浙江钱皇网络科技股份有限公司;变更事项:地址;变更前:330399 江西省九江市永修县涂埠镇西二路11-5号;变更后:314519 浙江省嘉兴市桐乡市洲泉镇屈家浜村钱家角
2014-12-24
授权
状态信息
授权
摘要
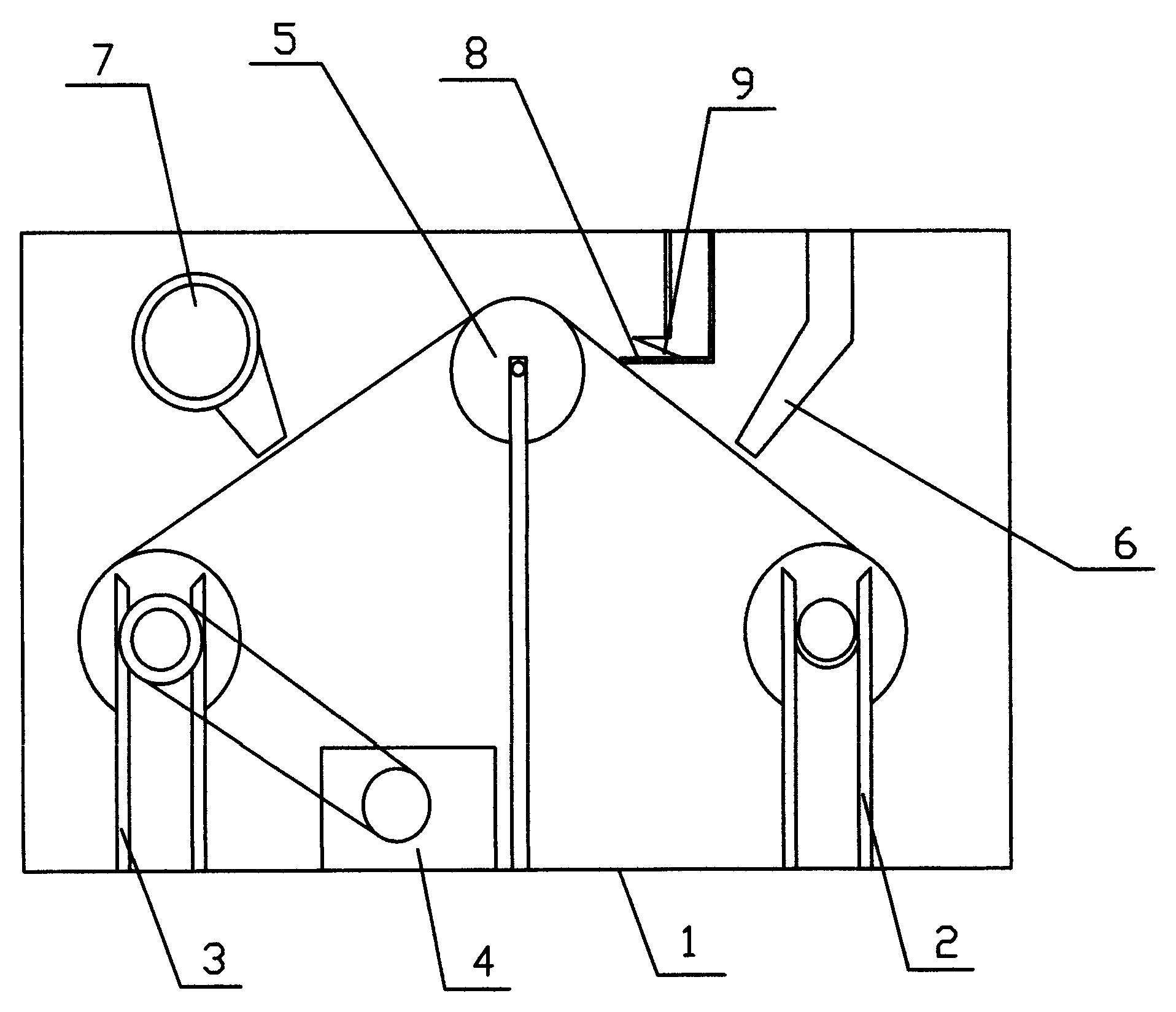
本实用新型公开了一种布料烫平烘干机,包括机体,机体上开设有通风窗,所述的机体内设置有放料支架和收料支架,收料支架上通过皮带轮和皮带连接有驱动电机,放料支架与收料支架之间安装有布料展开滚轴,放料支架与布料展开滚轴之间安装有蒸汽喷嘴,收料支架与布料展开滚轴之间安装有烘干机;所述的布料展开滚轴的外侧面上由中间向两端开设有螺纹;所述的机体内安装有布料毛刷,布料毛刷上安装有弹簧片;所述的机体下方安装有移动滚轮,移动滚轮上安装有刹车装置;本实用新型的有益效果:实用,生产成本低,便于布料在生产过程中的烫平、烘干和清洁,提高了布料的生产效率,实现了自动化,降低了劳动强度。


