授权公布号:CN204043624U
一种蚕丝被拉丝检测台
有效
申请
2014-09-02
申请公布
1970-01-01
授权
2014-12-24
预估到期
2024-09-02
| 申请号 | CN201420502518.0 |
| 申请日 | 2014-09-02 |
| 授权公布号 | CN204043624U |
| 授权公告日 | 2014-12-24 |
| 分类号 | G01B11/06 |
| 分类 | 测量;测试; |
| 申请人名称 | 浙江钱皇网络科技股份有限公司 |
| 申请人地址 | 浙江省嘉兴市桐乡市洲泉镇屈家浜村钱家角 |
专利法律状态
2015-12-23
专利申请权、专利权的转移
状态信息
专利权的转移;IPC(主分类):G01B11/06;登记生效日:20151203;变更事项:专利权人;变更前:张健健;变更后:浙江钱皇网络科技股份有限公司;变更事项:地址;变更前:330399 江西省九江市永修县涂埠镇西二路11-5号;变更后:314519 浙江省嘉兴市桐乡市洲泉镇屈家浜村钱家角
2014-12-24
授权
状态信息
授权
摘要
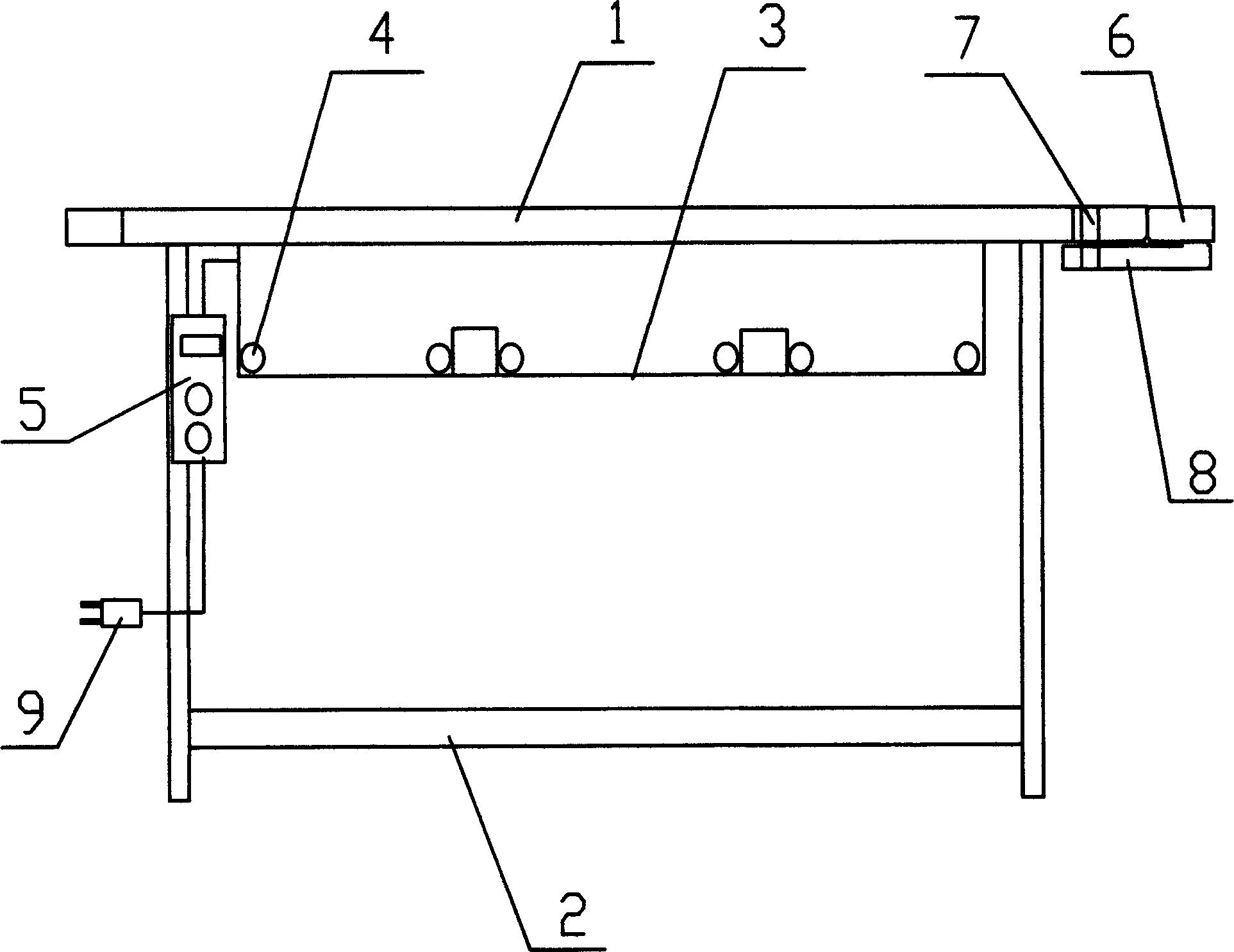
本实用新型公开了一种蚕丝被拉丝检测台,包括透明台面板,透明台面板安装在支撑架上,所述的透明台面板下方安装有一个灯箱,灯箱的内壁上涂有反光层,灯箱内安装有若干根相互平行的灯管,支撑架上安装有与灯管连接的控制盒,控制盒上连接有电源插头,控制盒上安装有控制开关;所述的透明台面板的边缘设置有边框,边框上通过合页连接有加宽板,边框下方通过转轴连接有托板;述的托板上设置有橡胶垫;述的支撑架下方安装有移动滚轮,移动滚轮上安装有刹车装置;本实用新型的有益效果:实用,生产成本低,便于蚕丝被拉丝后的厚薄检测,适用于多种规格大小的蚕丝被检测使用。


