授权公布号:CN213081689U
一种高精度植物纤维垫切孔设备
有效
申请
2020-09-16
申请公布
1970-01-01
授权
2021-04-30
预估到期
2030-09-16
| 申请号 | CN202022031428.6 |
| 申请日 | 2020-09-16 |
| 授权公布号 | CN213081689U |
| 授权公告日 | 2021-04-30 |
| 分类号 | B26F1/24;B26D7/02 |
| 分类 | 手动切割工具;切割;切断; |
| 申请人名称 | 天津生隆纤维材料股份有限公司 |
| 申请人地址 | 天津市宝坻区牛道口镇牛道口村东 |
专利法律状态
2021-04-30
授权
状态信息
授权
摘要
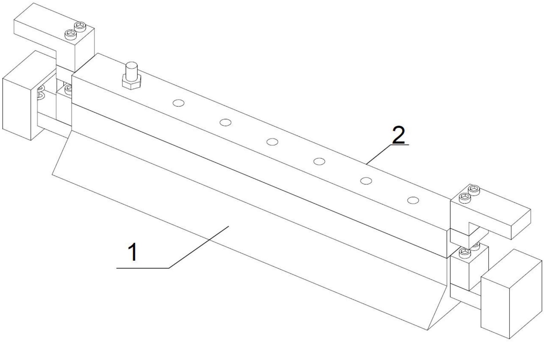
本实用新型公开了一种高精度植物纤维垫切孔设备,包括为植物纤维垫定位的定位装置,定位装置的上表面啮合有定孔装置,定位装置包括固定条,固定条的上表面均匀开设有圆孔,固定条的侧表面装配有连接条,连接条的外表面装配有连接槽,连接条的上表面装配有弹簧,本实用新型设置了一种带有定位装置和定孔装置的高精度植物纤维垫的切孔设备,分别装配在两套外部升降机构内侧的定位装置和定孔装置在切孔时,首先定位装置下落,将植物纤维垫压实在切孔位置的底座上表面,随后另一套升降机构带动定孔装置向下移动,切孔针从圆孔的内部伸入,打出所需的孔洞,有效的解决了现有的植物纤维垫切孔机在切孔时,切出的孔洞容易发生移位的问题。


