授权公布号:CN215015873U
茶水分离装置及容器
有效
申请
2021-03-09
申请公布
1970-01-01
授权
2021-12-07
预估到期
2031-03-09
| 申请号 | CN202120499376.7 |
| 申请日 | 2021-03-09 |
| 授权公布号 | CN215015873U |
| 授权公告日 | 2021-12-07 |
| 分类号 | A47G19/22;A47J31/06 |
| 分类 | 家具;家庭用的物品或设备;咖啡磨;香料磨;一般吸尘器; |
| 申请人名称 | 上海宏晨家庭用品有限公司 |
| 申请人地址 | 上海市金山区金山第二工业区钱圩镇分区 |
专利法律状态
2021-12-07
授权
状态信息
授权
摘要
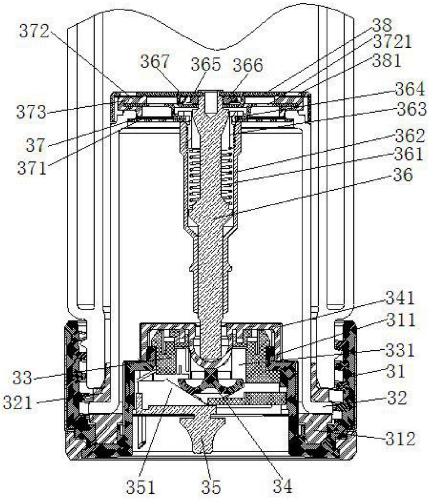
本实用新型公开了一种茶水分离装置及容器,茶水分离装置包括:底盖,底盖上沿第一方向贯通设置有滑动孔;内杯,内杯的下端设置有开口,且内杯的下端设置在底盖内,内杯的上端设置有若干过滤孔;滑杆,设置在内杯的置茶腔内,滑杆的下端沿第一方向滑动设置在滑动孔内,滑杆的上端贯穿内杯的上端伸至储水腔内;出水帽,设置在滑杆的上端,出水帽上设置有若干出水孔,若干出水孔与若干过滤孔相互错位设置;滑杆移动过程中包括打开位置和关闭位置;操作组件,设置在底盖上,能够驱动滑杆沿第一方向移动;第四弹性件,套设于滑杆,用于给滑杆施加从打开位置移动到关闭位置的预紧力。本实用新型能够实现茶道式冲泡饮茶的功能,满足口感需要。


