授权公布号:CN219508275U
纸面干燥度检测装置、收卷机及造纸线
有效
申请
2023-03-08
申请公布
1970-01-01
授权
2023-08-11
预估到期
2033-03-08
| 申请号 | CN202320428850.6 |
| 申请日 | 2023-03-08 |
| 授权公布号 | CN219508275U |
| 授权公告日 | 2023-08-11 |
| 分类号 | D21F5/00;G01N33/34;G01K11/00;D21F7/00 |
| 分类 | 造纸;纤维素的生产; |
| 申请人名称 | 维达纸业(中国)有限公司 |
| 申请人地址 | 广东省江门市新会区三江镇新江村寺北洋沙 |
专利法律状态
2023-08-11
授权
状态信息
授权
摘要
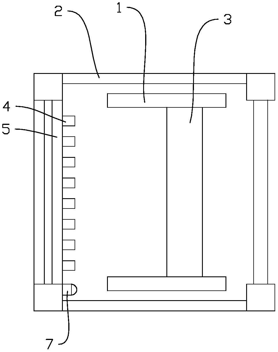
本实用新型公开了一种纸面干燥度检测装置,并公开了具有纸面干燥度检测装置的收卷机和造纸线,其中,纸面干燥度检测装置包括测温机构,设置于防尘室的侧壁,位于收卷轴的径向方向,并且,位于收卷轴背向进纸方向一侧,包括横梁、位于横梁的多个激光测温器,横梁沿收卷轴的轴向延伸,多个激光测温器沿横梁排布并测量纸卷的温度;报警机构,包括控制组件和报警器,控制组件记载有纸卷的温度和相对应的干燥度,控制组件用于根据实测温度获得所对应的干燥度进而判断干燥度是否合格并控制报警器是否报警。本实用新型的一种纸面干燥度检测装置、收卷机及造纸线,能够很快的获得原纸的干燥度,及时的提醒进行生产调整,减少不良品的产生。


