授权公布号:CN211292336U
一种转椅扶手内撑杆强度检测装置
有效
申请
2019-10-29
申请公布
1970-01-01
授权
2020-08-18
预估到期
2029-10-29
| 申请号 | CN201921831311.7 |
| 申请日 | 2019-10-29 |
| 授权公布号 | CN211292336U |
| 授权公告日 | 2020-08-18 |
| 分类号 | G01N3/08;G01N3/02 |
| 分类 | 测量;测试; |
| 申请人名称 | 东莞市和睿家具有限公司 |
| 申请人地址 | 广东省东莞市厚街镇陈屋村工业区 |
专利法律状态
2020-08-18
授权
状态信息
授权
摘要
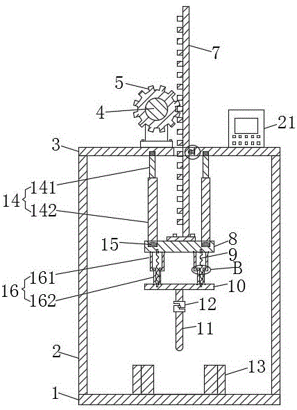
本实用新型公开了一种转椅扶手内撑杆强度检测装置,包括矩形底板,顶板的顶部通过螺栓安装有电机,电机的输出轴的外部套装有环形齿轮,顶板的中部开设有矩形孔,矩形孔的内部设有矩形齿轮条,环形齿轮与矩形齿轮条啮合;矩形齿轮条底部通过螺栓安装有第一圆盘,第一圆盘的下端面和第二圆盘的上端面之间焊接有弹簧,第二圆盘的下端面的中部焊接有圆杆,圆杆上安装有压力传感器,压力传感器的输出端与显示屏的输入端电性连接;矩形底板的上端面的左右两侧均焊接有竖板;本方案,方便直观的检测出扶手内撑杆的强度,防止压力传感器的受到的压力瞬间飙升,有效的防止压力传感器的损害,提高了压力传感器的使用寿命。


