授权公布号:CN212878490U
一种可折叠式椅子
有效
申请
2020-08-06
申请公布
1970-01-01
授权
2021-04-06
预估到期
2030-08-06
| 申请号 | CN202021618380.2 |
| 申请日 | 2020-08-06 |
| 授权公布号 | CN212878490U |
| 授权公告日 | 2021-04-06 |
| 分类号 | A47C4/04 |
| 分类 | 家具;家庭用的物品或设备;咖啡磨;香料磨;一般吸尘器; |
| 申请人名称 | 东莞市和睿家具有限公司 |
| 申请人地址 | 广东省东莞市厚街镇陈屋村工业区 |
专利法律状态
2021-04-06
授权
状态信息
授权
摘要
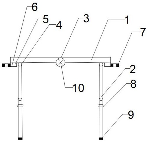
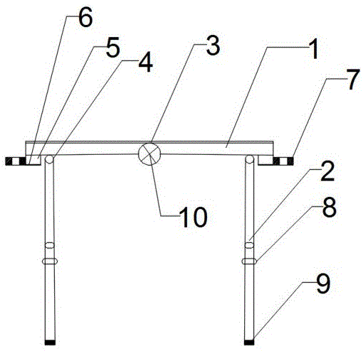
实用新型涉及椅子技术领域,尤其是指一种可折叠式椅子,包括了椅座、椅脚、第一转轴、第二转轴、凸块、磁吸块、把手、伸缩孔位,第一转轴上设于椅座中心处,椅脚设于椅座下方,椅座、椅脚通过第二转轴连接,椅座下端设有凸块,凸块下端设有磁吸块,凸块侧端设有把手,椅脚上设有伸缩孔位,椅脚内设有多个卡块,方便调节椅子的高度档位,第一转轴内部设有发光器件,发光器件能使在夜间处时看清楚椅子,增加椅子本身美感感官,第一转轴、第二转轴分别使得椅座、椅脚折叠,大大节省了空间,凸块下端的磁吸块可稳固椅子折叠,不易散落,凸块上的把手可方便提携,本实用新型设计巧妙,结构简单,大大节省了空间,方便拿取提携。


