授权公布号:CN102977924B
制革废弃物气化制备燃气的方法及专用设备
有效
申请
2012-11-28
申请公布
2013-03-20
授权
2014-04-16
预估到期
2032-11-28
| 申请号 | CN201210495226.4 |
| 申请日 | 2012-11-28 |
| 申请公布号 | CN102977924A |
| 申请公布日 | 2013-03-20 |
| 授权公布号 | CN102977924B |
| 授权公告日 | 2014-04-16 |
| 分类号 | C10J3/48;C10J3/56 |
| 分类 | 石油、煤气及炼焦工业;含一氧化碳的工业气体;燃料;润滑剂;泥煤; |
| 申请人名称 | 淄博大桓九宝恩皮革集团有限公司 |
| 申请人地址 | 上海市徐汇区梅陇路130号 |
专利法律状态
2014-04-16
授权
状态信息
授权
2013-04-17
实质审查的生效
状态信息
实质审查的生效IPC(主分类):C10J 3/48申请日:20121128
2013-03-20
公布
状态信息
公开
摘要
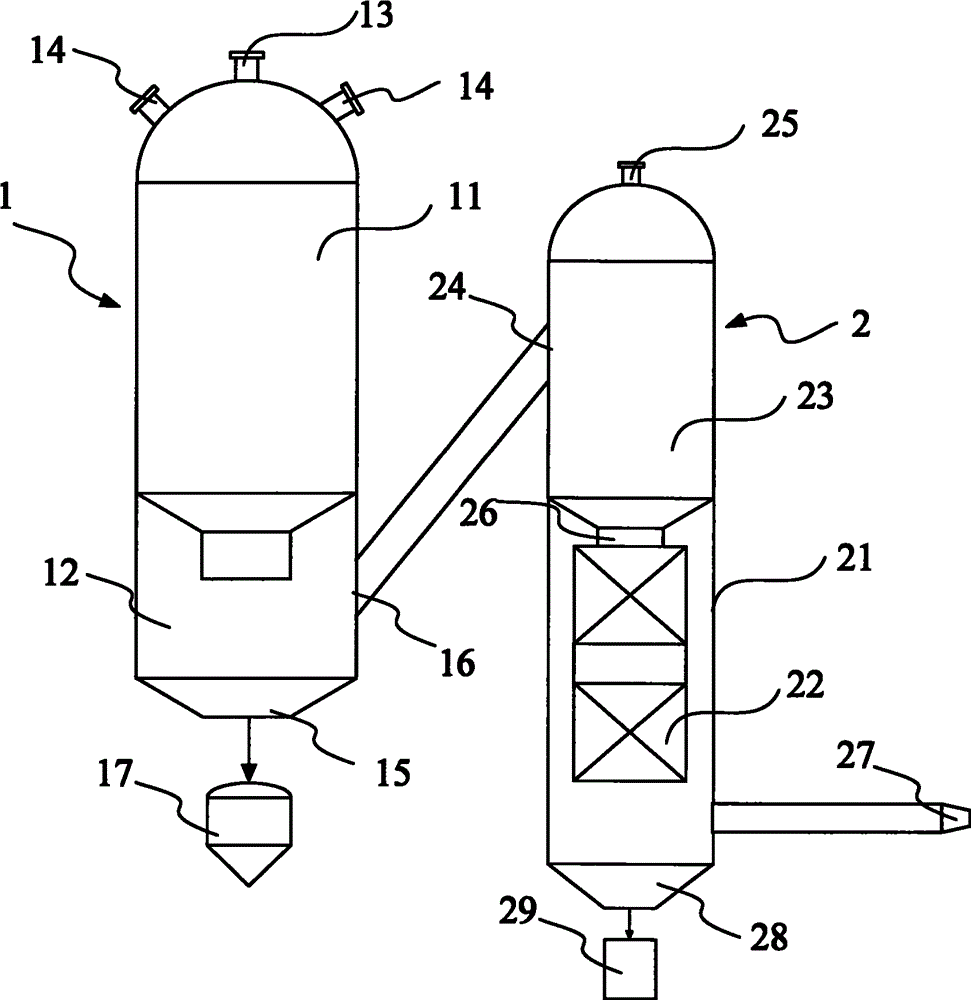
本发明公开制革废弃物气化制备燃气的方法及专用设备。该设备包括第一气流床气化炉和第二气流床气化炉;第一气流床气化炉气体出口与第二气流床气化炉气体入口连通;第一气流床气化炉上下分气化区和渣池;气化区顶部设第一进料喷嘴和第二进料喷嘴;渣池有使用时最大盛液位,第一气流床气化炉气体出口设于第一气流床气化炉下部且高于渣池最大盛液位;第二气流床气化炉包括炉体和置于炉体内辐射废锅,炉体上部成气化区;气化区上部设气体入口,顶部设第三进料喷嘴;辐射废锅包括燃气入口、燃气出口和灰渣出口,燃气入口与气化区连通,燃气出口为第二气流床气化炉燃气出口。该方法为使用该设备将制革废弃物气化制备燃气,成本低、效率高且不污染环境。


