授权公布号:CN217285085U
一种便于移动的智能家具
失效
申请
2022-03-03
申请公布
1970-01-01
授权
2022-08-26
预估到期
2032-03-03
| 申请号 | CN202220462982.6 |
| 申请日 | 2022-03-03 |
| 授权公布号 | CN217285085U |
| 授权公告日 | 2022-08-26 |
| 分类号 | A47B9/10;A47B3/00;A47B13/08;A47B91/02;A47B91/06 |
| 分类 | 家具;家庭用的物品或设备;咖啡磨;香料磨;一般吸尘器; |
| 申请人名称 | 濮阳市登星家具有限公司 |
| 申请人地址 | 河南省濮阳市卫都路与龙乡路交叉口西北角 |
专利法律状态
2024-03-15
专利权的终止
状态信息
未缴年费专利权终止;IPC(主分类):A47B9/10;申请日:20220303;授权公告日:20220826
2022-08-26
授权
状态信息
授权
摘要
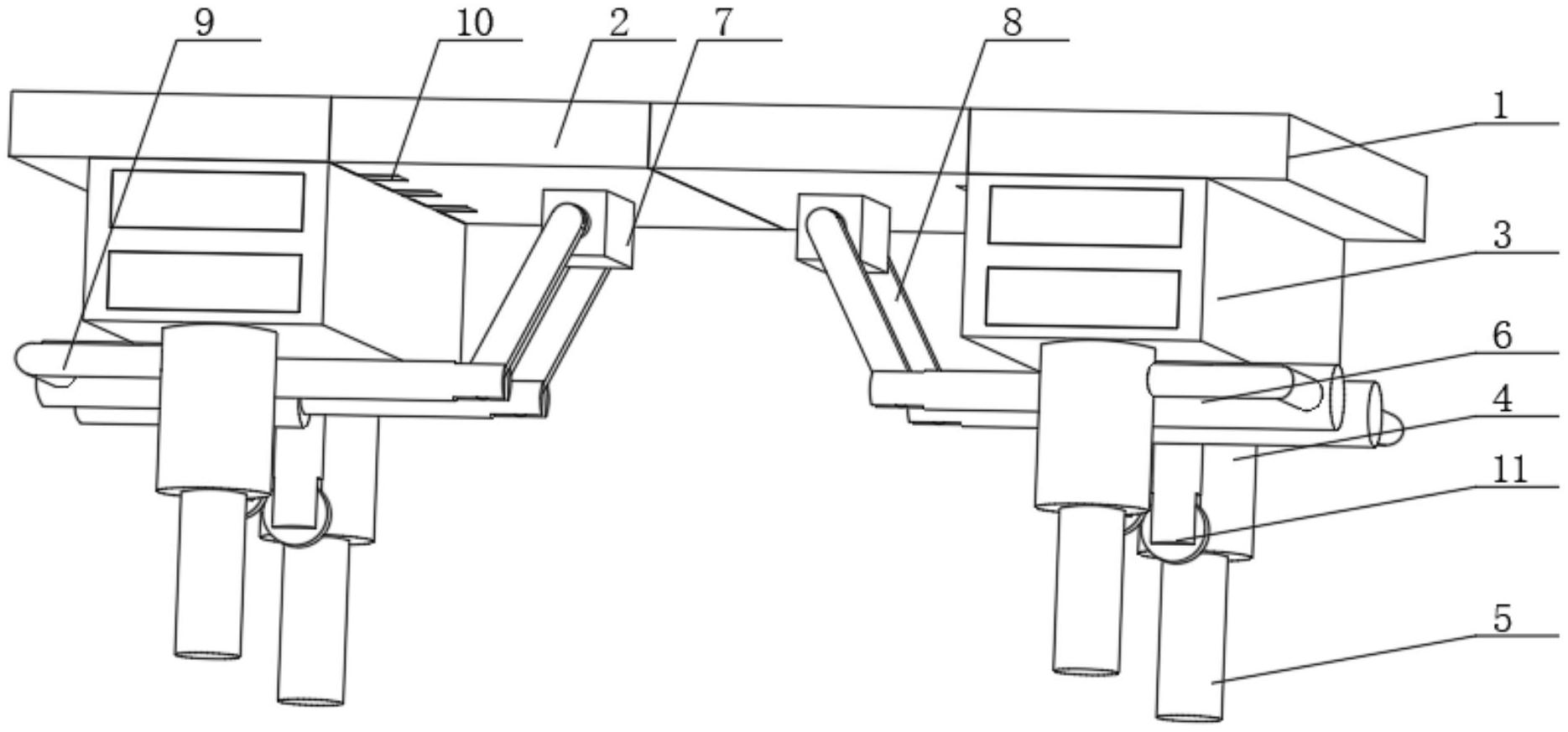
本实用新型提供一种便于移动的智能家具,涉及智能家具技术领域,该便于移动的智能家具,包括:用于组成桌面的两个第一桌板和两个第二桌板,所述第二桌板的底部安装有固定块,所述抽屉的底部前端和后端均固定安装有内部中空的第一支撑柱,所述第一支撑柱的顶部安装有气泵,所述第一支撑柱的底端活动安装有第二支撑柱,所述第二支撑柱的顶端伸入第一支撑柱的内部并安装有活塞板,所述抽屉的底部安装有气动伸缩杆,所述气动伸缩杆的活动端与固定块的一侧之间转动安装有转动连接杆,所述气动伸缩杆的固定端与第一支撑柱的顶端之间连通有连接气管,所述第一支撑柱的内部安装有密封机构。使得家具开始折叠、体积变小,有利于家具的搬运。


