授权公布号:CN217337864U
一种浴室家具
有效
申请
2022-04-02
申请公布
1970-01-01
授权
2022-09-02
预估到期
2032-04-02
| 申请号 | CN202220752776.9 |
| 申请日 | 2022-04-02 |
| 授权公布号 | CN217337864U |
| 授权公告日 | 2022-09-02 |
| 分类号 | A47B81/00;A47B67/00;A47B97/00;A47K1/02 |
| 分类 | 家具;家庭用的物品或设备;咖啡磨;香料磨;一般吸尘器; |
| 申请人名称 | 濮阳市登星家具有限公司 |
| 申请人地址 | 河南省濮阳市卫都路与龙乡路交叉口西北角 |
专利法律状态
2022-09-02
授权
状态信息
授权
摘要
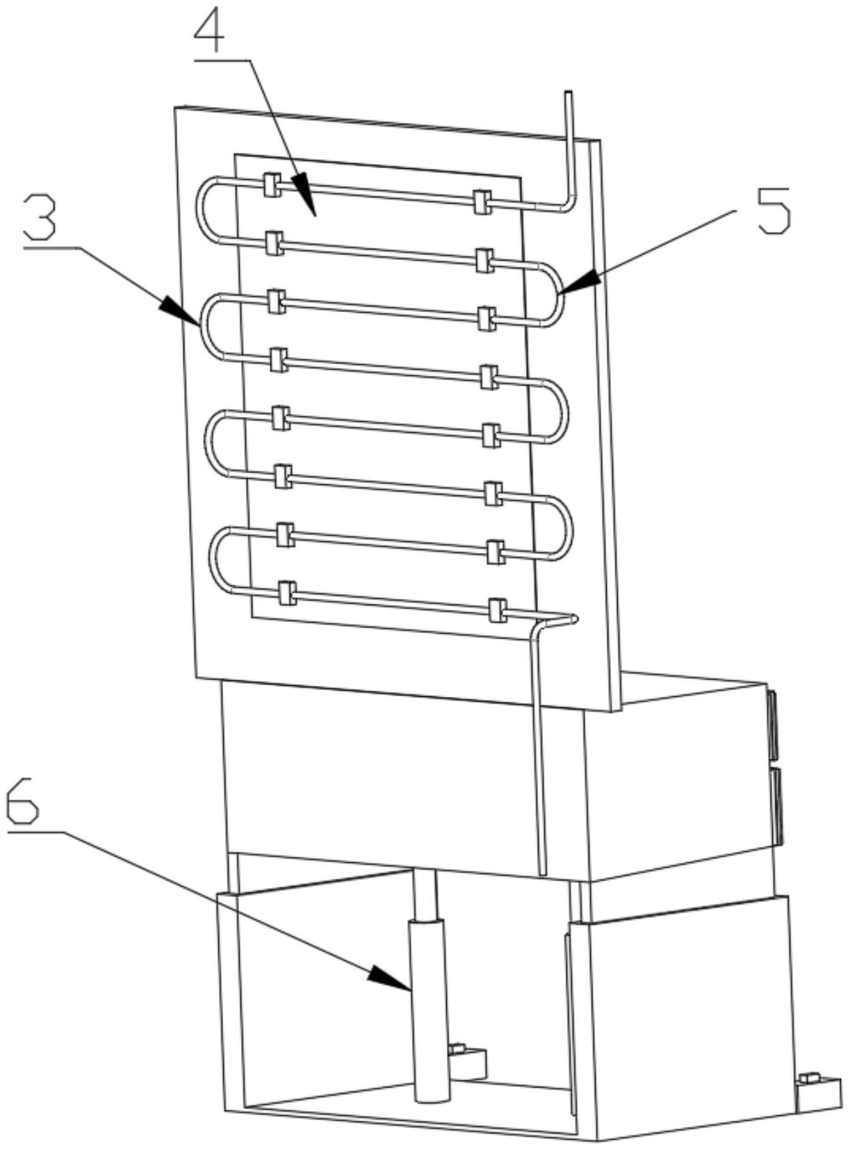
本实用新型提供一种浴室家具,涉及家具技术领域,该浴室家具包括柜体,所述柜体上安装有镜子,所述镜子的背面安装有保温盒,所述保温盒内设置有安装在镜子的背面的均热板,所述均热板上安装有呈蛇形分布的热水管,所述热水管通过卡扣安装在均热板上,所述设置在保温盒内的热水管的材质为导热材质;在安装浴室的过程中,将热水管呈蛇形安装在镜子的背面,当使用者在浴室洗浴时候,热水通过热水管的时候,通过热水对镜面进行加热,通过均热板对镜子的整体进行全面加热,并通过保温盒进行保温,经过加热的镜面,不会由于镜面温度角度从而导致水蒸气冷凝,通过上述过程中加热镜面不需额外控制装置以及加热装置对镜面进行加热,使用过程比较方便。


