授权公布号:CN214289928U
一种高效率的家具加工漆房废气处理装置
有效
申请
2020-12-25
申请公布
1970-01-01
授权
2021-09-28
预估到期
2030-12-25
| 申请号 | CN202023173309.0 |
| 申请日 | 2020-12-25 |
| 授权公布号 | CN214289928U |
| 授权公告日 | 2021-09-28 |
| 分类号 | B08B15/04 |
| 分类 | 清洁; |
| 申请人名称 | 诚丰家具有限公司 |
| 申请人地址 | 广东省深圳市龙华区观澜街道富坑社区同富裕工业区诚丰工业楼四楼北座 |
专利法律状态
2021-09-28
授权
状态信息
授权
摘要
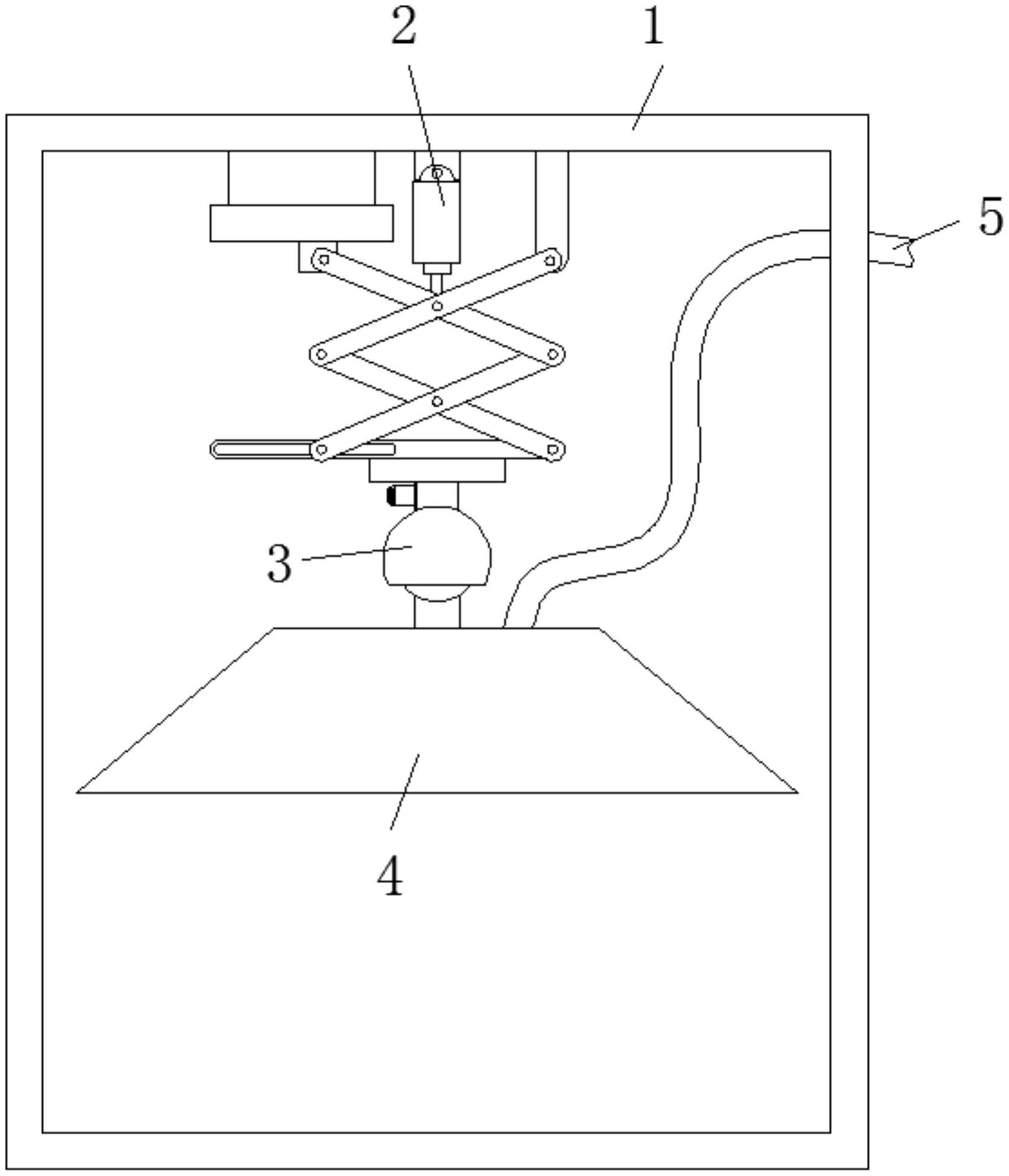
本实用新型属于家具加工技术领域,且公开了一种高效率的家具加工漆房废气处理装置,包括喷漆房,所述喷漆房的内部设置有开口朝下的排气罩,且排气罩上连接有排气管,所述排气管远离排气罩的一端贯穿喷漆房,所述喷漆房的内部顶端固定有升降机构,且升降机构的底端连接有球副机构,所述球副机构的底端与排气罩的顶部连接;本实用新型设置了升降机构,通过电动伸缩杆工作带动伸缩架伸缩从而带动排气罩上下移动,使得排气罩由静态变为动态,便于对喷漆房底部的废气进行吸除,提高了废气吸除效率,解决了排气罩固定在喷漆房顶部,仅仅能够对喷漆房上部废气进行吸除,而对于喷漆房底部废气则很难吸除的问题。


