授权公布号:CN112661235B
一种反应时间可控的LED深紫外杀菌装置
有效
申请
2020-12-23
申请公布
2021-04-16
授权
2022-05-03
预估到期
2040-12-23
| 申请号 | CN202011537775.4 |
| 申请日 | 2020-12-23 |
| 申请公布号 | CN112661235A |
| 申请公布日 | 2021-04-16 |
| 授权公布号 | CN112661235B |
| 授权公告日 | 2022-05-03 |
| 分类号 | C02F1/32 |
| 分类 | 水、废水、污水或污泥的处理; |
| 申请人名称 | 木林森股份有限公司 |
| 申请人地址 | 广东省中山市小榄镇木林森大道1号 |
专利法律状态
2022-05-03
授权
状态信息
授权
2021-04-16
公布
状态信息
公布
摘要
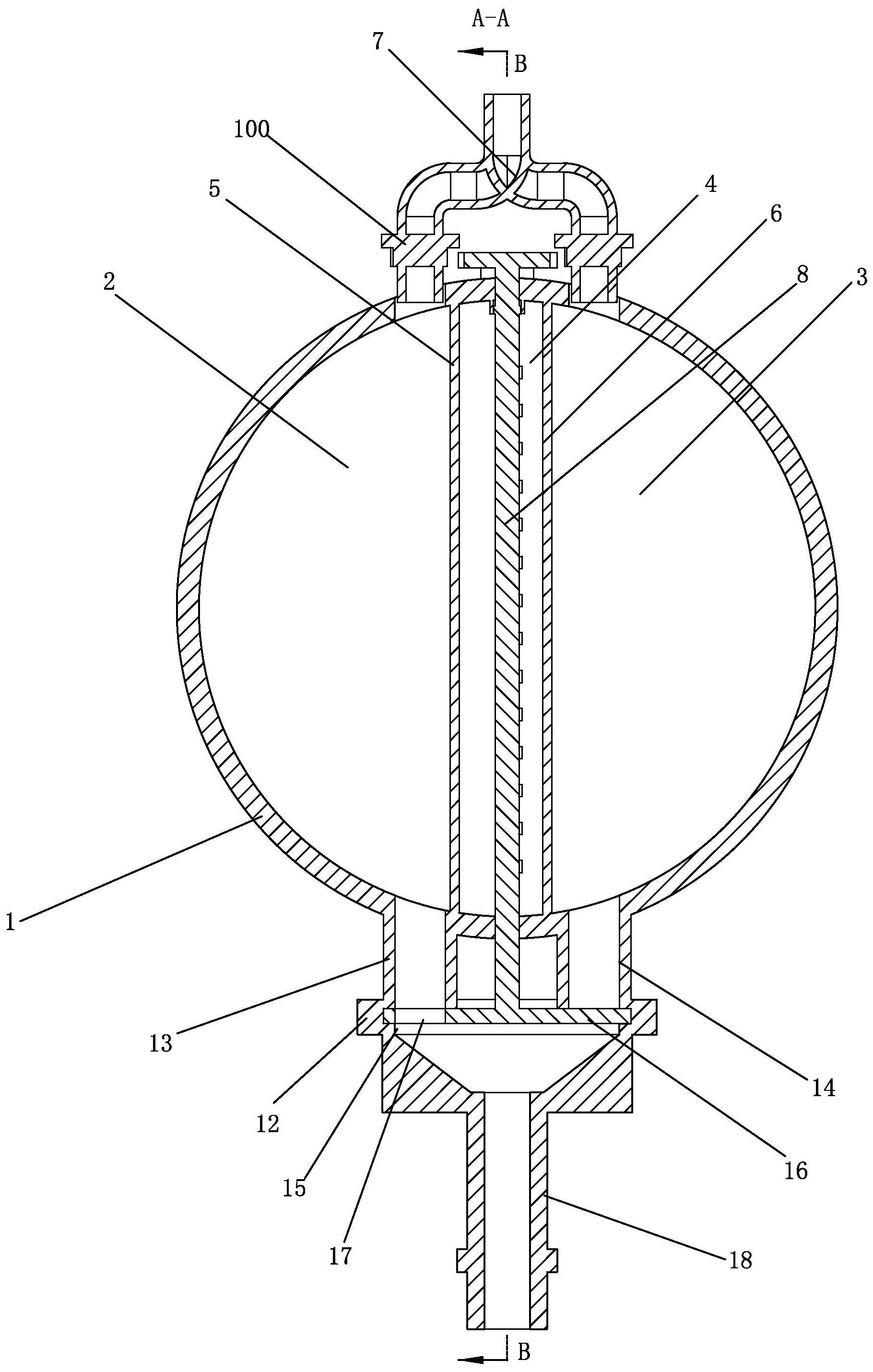
本发明公开一种反应时间可控的LED深紫外杀菌装置,包括阀体,所述阀体内设置有第一反应腔和第二反应腔,在所述第一反应腔和第二反应腔之间设置有深紫外光源腔,所述深紫外光源腔和第一反应腔之间设置有第一透光板,所述深紫外光源腔和第二反应腔之间设置有第二透光板,所述阀体上设置有连通至第一反应腔和第二反应腔的进水管道,所述深紫外光源腔内设置有转轴体,通过两个腔体轮流工作,对流动的液体提供停留时间,同时保证流动液体正常的使用,左侧在杀菌的时候,右侧杀菌完毕可正常使用,右侧在杀菌的时候,左侧杀菌完毕可正常使用,提供既能保证流水充足的杀菌时间,也能保证流水供应的正常使用,且杀菌时间可以控制,使用方便。


