授权公布号:CN206918659U
发光二极体灯
有效
申请
2017-06-21
申请公布
1970-01-01
授权
2018-01-23
预估到期
2027-06-21
| 申请号 | CN201720727417.7 |
| 申请日 | 2017-06-21 |
| 授权公布号 | CN206918659U |
| 授权公告日 | 2018-01-23 |
| 分类号 | F21K9/20;F21V29/89;F21V3/00;F21V17/16;F21V15/02;F21V21/02;F21V23/00;F21V17/10;F21V17/12;F21Y115/10 |
| 分类 | 照明; |
| 申请人名称 | 立达信物联科技股份有限公司 |
| 申请人地址 | 福建省厦门市湖里区枋湖北二路1511号7层701单元 |
专利法律状态
2020-02-04
专利权人的姓名或者名称、地址的变更
状态信息
专利权人的姓名或者名称、地址的变更IPC(主分类):F21K9/20变更前 专利权人:厦门立达信绿色照明集团有限公司 地址:361010 福建省厦门市湖里区枋湖北二路1511号7层701单元变更后 专利权人:立达信物联科技股份有限公司 地址:361010 福建省厦门市湖里区枋湖北二路1511号7层701单元
2018-01-23
授权
状态信息
授权
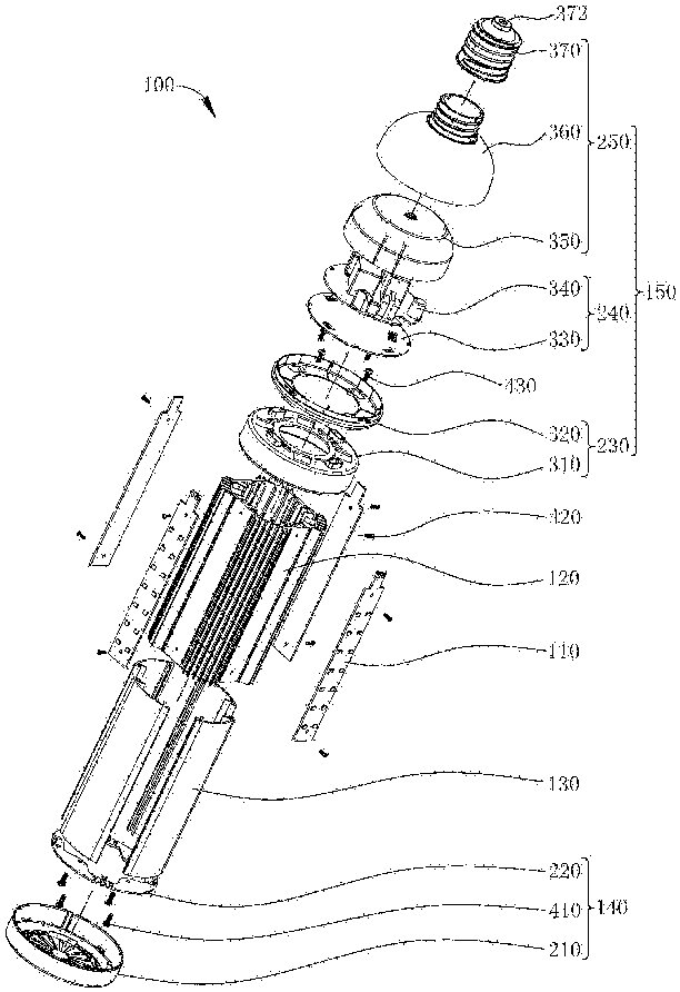
摘要
一种发光二极体灯包含发光二极体光源组件、散热金属件、灯罩、上盖模块、及底座模块。散热金属件贴合并固定于发光二极体光源组件。灯罩具有透明出光区域,并通过散热金属件包含的扣位件扣位于散热金属件。上盖模块用来扣位并固定散热金属件与灯罩于发光二极体灯的第一侧。底座模块用来扣位并固定散热金属件与灯罩于发光二极体灯的第二侧。底座模块用来接收外部电源,并用来通过外部电源驱动发光二极体光源组件的发光功能。发光二极体灯的第一侧与第二侧彼此相对。


