授权公布号:CN114697091B
一种支持授信通信管理多层级探针的方法
有效
申请
2022-03-18
申请公布
2022-07-01
授权
2024-03-12
预估到期
2042-03-18
| 申请号 | CN202210269639.4 |
| 申请日 | 2022-03-18 |
| 申请公布号 | CN114697091A |
| 申请公布日 | 2022-07-01 |
| 授权公布号 | CN114697091B |
| 授权公告日 | 2024-03-12 |
| 分类号 | H04L9/40;H04L9/32;H04L67/1095 |
| 分类 | 电通信技术; |
| 申请人名称 | 江苏林洋能源股份有限公司 |
| 申请人地址 | 江苏省南通市启东经济开发区林洋路666号 |
专利法律状态
2024-03-12
授权
状态信息
授权
2022-07-19
实质审查的生效
状态信息
实质审查的生效;IPC(主分类):H04L9/40;申请日:20220318
2022-07-01
公布
状态信息
公布
摘要
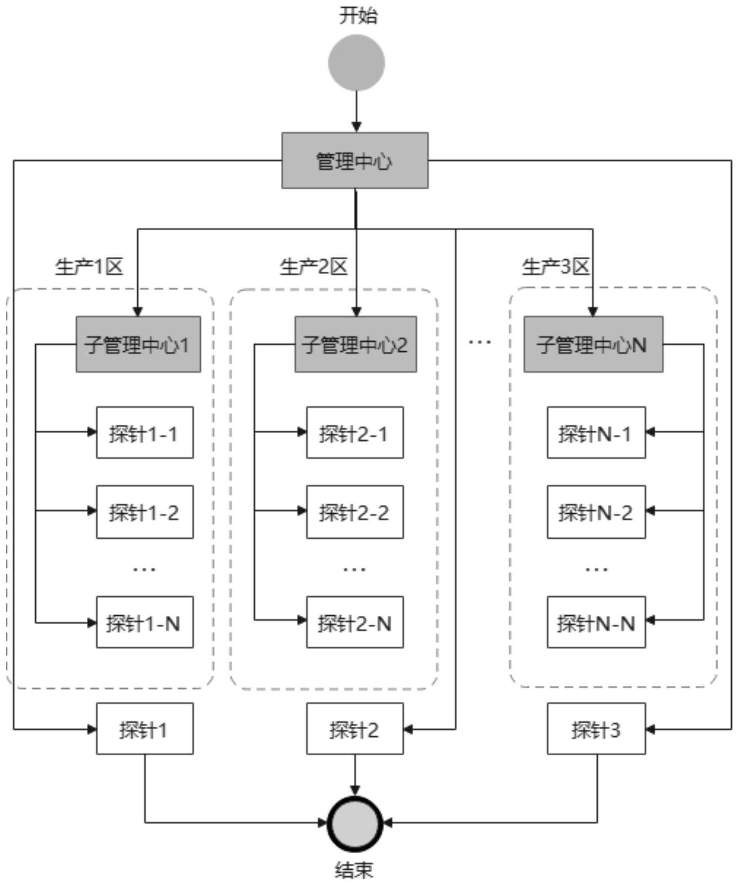
本发明的支持授信通信管理多层级探针的方法,该方法对管理中心与探针设备之间建立授信通信通道,包含授权认证步骤,建立管理构架,进行多参数因子授权认证;规则同步步骤,探针侧将自身的探针规则直接或者通过子管理中心同步至管理中心侧,管理中心侧汇总接收的前述探针侧规则和内置规则,形成监控规则,并且下发监控规则至探针侧;监控执行步骤,探针侧执行监控规则,收集日志和探针信息同步至管理中心侧。本发明主要基于管理中心和探针的授信通信方案,支持多探针部署在多业务网络环境中,并可以通过管理中心实现对多探针的集中化下发规则,探针日志和探针信息收集汇集处理。


