授权公布号:CN216902605U
高压开关数字化单元机构
有效
申请
2021-12-22
申请公布
1970-01-01
授权
2022-07-05
预估到期
2031-12-22
| 申请号 | CN202123251100.6 |
| 申请日 | 2021-12-22 |
| 授权公布号 | CN216902605U |
| 授权公告日 | 2022-07-05 |
| 分类号 | H01H9/54 |
| 分类 | 基本电气元件; |
| 申请人名称 | 江苏林洋能源股份有限公司 |
| 申请人地址 | 江苏省南通市启东经济开发区林洋路666号 |
专利法律状态
2022-07-05
授权
状态信息
授权
摘要
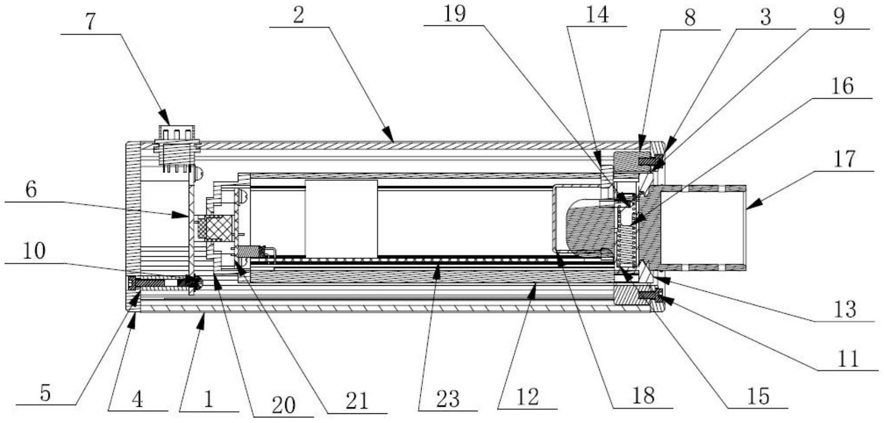
本实用新型提供一种高压开关数字化单元机构,包括绝缘杆头、中继单元组和模块单元组;所述的中继单元组与高压开关固定,且所述中继单元的开口端向下;所述的模块单元组安装在中继单元组的内腔,且与之可插拔连接;所述模块单元组的上端插接在中继单元组的内腔上端,所述模块单元组的下端通过绝缘杆头旋转施力能够与中继单元组的内腔下端卡接或松开;所述的绝缘杆头安装在电力绝缘杆上,且绝缘杆头的端部能够旋入模块单元组的下端,使得模块单元组卡接在中继单元组内或者松开退出。本实用新型的整体设计布局合理紧凑,有效解决配电运维工作中的设备运输难,带电操作风险高,故障排除时间紧等问题;在同类产品当中维护性和工艺性均有突出表现。


