授权公布号:CN220382069U
对位装置
有效
申请
2023-07-25
申请公布
1970-01-01
授权
2024-01-23
预估到期
2033-07-25
| 申请号 | CN202321973650.5 |
| 申请日 | 2023-07-25 |
| 授权公布号 | CN220382069U |
| 授权公告日 | 2024-01-23 |
| 分类号 | H01L21/68;H01L33/00 |
| 分类 | 基本电气元件; |
| 申请人名称 | 深圳市洲明科技股份有限公司 |
| 申请人地址 | 广东省深圳市宝安区福永街道桥头社区永福路112号 |
专利法律状态
2024-01-23
授权
状态信息
授权
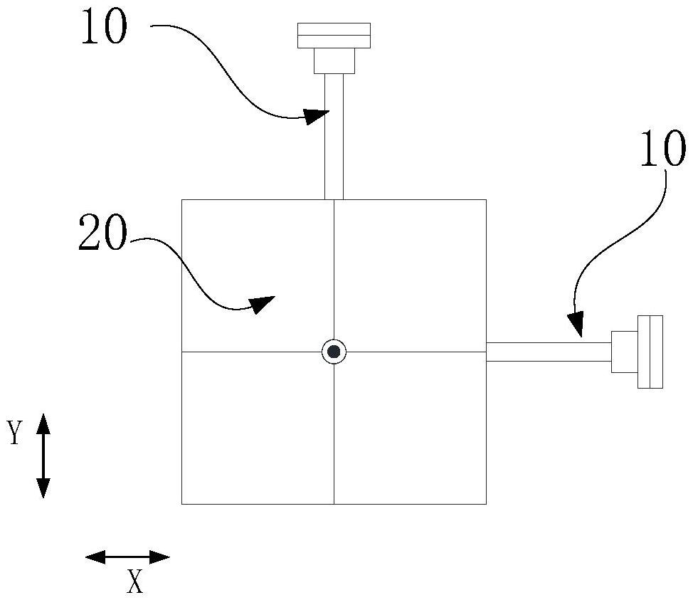
摘要
本申请涉及一种对位装置,包括弹性承载组件和多个超声对位机构;超声对位机构包括对位件和超声驱动组件;对位件与弹性承载组件连接,超声驱动组件与对位件连接,超声驱动组件被配置为产生超声振动并驱动对位件作直线往复运动。本申请通过超声对位机构和弹性承载组件的配合,实新芯片对位,由于超声驱动组件利用超声振动驱动对位件作直线往复运动,超声振动频率极高,超声振动引起的位移小,使得弹性承载组件沿第一方向和第二方向的形变能够满足芯片的对位精度需求,同时可使芯片与目标基板上的待安装位置高速对位,从而实现芯片的高速精准对位,进而提高芯片转移后的良率。


