授权公布号:CN215808379U
一种室外LED灯灯头的防水装置
有效
申请
2021-05-24
申请公布
1970-01-01
授权
2022-02-11
预估到期
2031-05-24
| 申请号 | CN202121120254.9 |
| 申请日 | 2021-05-24 |
| 授权公布号 | CN215808379U |
| 授权公告日 | 2022-02-11 |
| 分类号 | F21V31/00;F21V17/16;F21Y115/10N |
| 分类 | 照明; |
| 申请人名称 | 深圳市长方集团股份有限公司 |
| 申请人地址 | 广东省深圳市坪山新区大工业区聚龙山3号路 |
专利法律状态
2022-02-11
授权
状态信息
授权
摘要
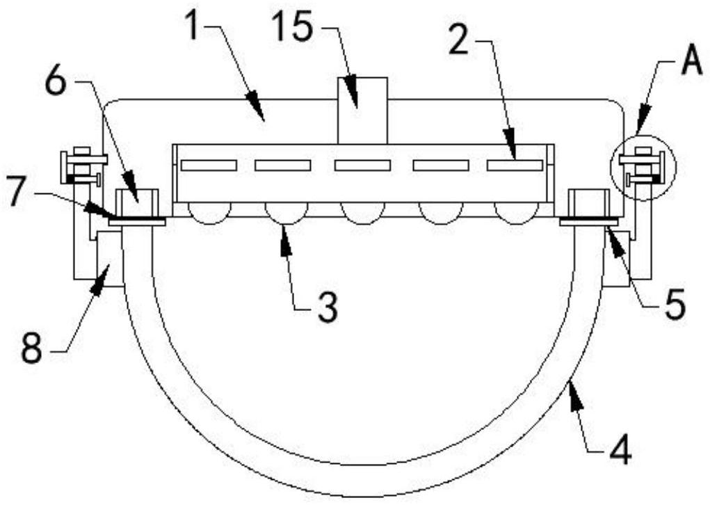
本实用新型公开了一种室外LED灯灯头的防水装置,包括安装板,所述安装板的底部设有安装槽,所述安装槽内设有电路板,所述电路板的下方设有灯珠,所述安装板的下方设有灯罩,所述灯罩靠近安装板的一侧固定连接有限位盘,所述限位盘远离灯罩的一侧固定连接有卡环,所述限位盘靠近卡环的一侧外壁上固定连接有密封垫,所述安装板的一侧设有与卡环对应的卡槽,所述灯罩的外侧壁上均固定连接有多个连接块,多个所述连接块的外侧壁上均固定连接有支撑杆,所述支撑杆上滑动插设有定位杆,本实用新型通过卡接机构带动压缩密封圈,实现对的密封固定,有利于提高LED灯的紧密性,提高LED灯的防水效果,且灯罩拆装方便,易于进行清洗。


