授权公布号:CN218332625U
一种针对证券投资者教育的自助服务设备
有效
申请
2022-08-16
申请公布
1970-01-01
授权
2023-01-17
预估到期
2032-08-16
| 申请号 | CN202222148973.2 |
| 申请日 | 2022-08-16 |
| 授权公布号 | CN218332625U |
| 授权公告日 | 2023-01-17 |
| 分类号 | G06Q50/20;G06F1/16;G06F3/041;G09B5/06;G06K7/10;G06V40/16 |
| 分类 | 计算;推算;计数; |
| 申请人名称 | 中信建投证券股份有限公司 |
| 申请人地址 | 北京市东城区朝内大街188号 |
专利法律状态
2023-01-17
授权
状态信息
授权
摘要
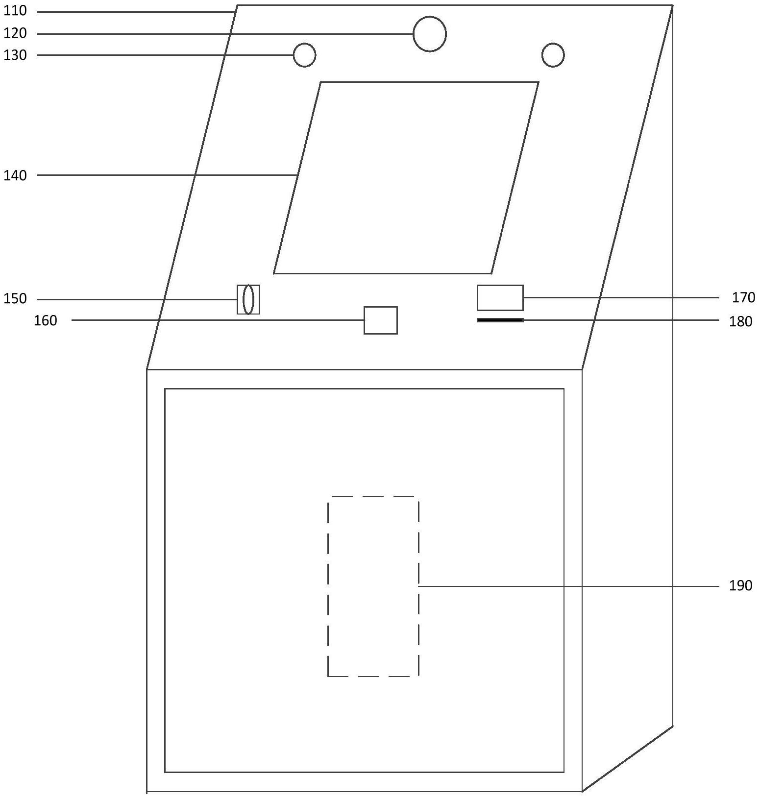
本实用新型实施例提供了一种针对证券投资者教育的自助服务设备,涉及一体机技术领域。该设备中,设备主体具有呈斜面结构的用户交互区,用户交互区设置有触摸屏、扬声器、摄像头、指纹采集器、身份证读卡器以及二维码扫码组件,扬声器和摄像头位于触摸屏的上方,指纹采集器、二维码扫码组件和身份证读卡器位于触摸屏的下方;设备主体内置有主控装置;触摸屏、扬声器和多个采集装置均与主控装置通信连接,主控装置通过通信接口与证券系统进行通信连接;主控装置,被配置为:在任一采集装置采集到任一人员的身份凭证信息后,根据该人员针对引导内容的触控选择,进行关于教育内容的目标视频的输出。通过本方案,在展开投资者教育时,更具智能化。


