授权公布号:CN215863112U
一种带伸缩杆的LED投光灯
有效
申请
2020-10-27
申请公布
1970-01-01
授权
2022-02-18
预估到期
2030-10-27
| 申请号 | CN202022415455.3 |
| 申请日 | 2020-10-27 |
| 授权公布号 | CN215863112U |
| 授权公告日 | 2022-02-18 |
| 分类号 | F21S8/08;F21V21/22;F21V14/02;F21V21/29;F21Y115/10N |
| 分类 | 照明; |
| 申请人名称 | 旭升照明有限公司 |
| 申请人地址 | 浙江省温州市乐清市天成乡工业园区 |
专利法律状态
2022-02-18
授权
状态信息
授权
摘要
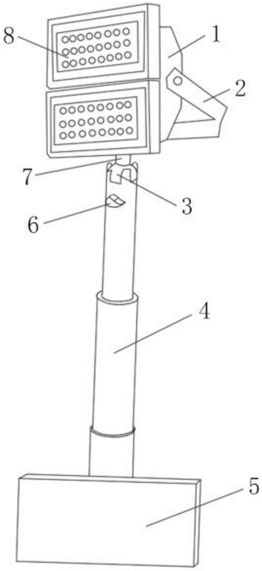
本实用新型公开了一种带伸缩杆的LED投光灯,包括底座和LED投光灯,所述LED投光灯包括灯座和灯板,所述灯座上固定连接有伸缩杆,该伸缩杆包括杆体、处于杆体顶端的凹槽和与凹槽配装的球头万向节,所述伸缩杆下端设有用于稳定LED投光灯的底座,伸缩杆上设有卡紧装置,所述灯座后端还设有提拉带。本实用新型结构简单合理,连接有伸缩杆,可自由调整至所需高度,方便照明,伸缩杆头部可带动LED投光灯转向多个位置,降低出现死角的情况,适用性更强。


