授权公布号:CN214345918U
一种婴童洗发沐浴露合成装置
有效
申请
2021-01-23
申请公布
1970-01-01
授权
2021-10-08
预估到期
2031-01-23
| 申请号 | CN202120183989.X |
| 申请日 | 2021-01-23 |
| 授权公布号 | CN214345918U |
| 授权公告日 | 2021-10-08 |
| 分类号 | B01F7/18;B01F3/20;B01F15/00 |
| 分类 | 一般的物理或化学的方法或装置; |
| 申请人名称 | 中山爱护日用品有限公司 |
| 申请人地址 | 广东省中山市火炬开发区国家健康基地健康路9号 |
专利法律状态
2021-10-08
授权
状态信息
授权
摘要
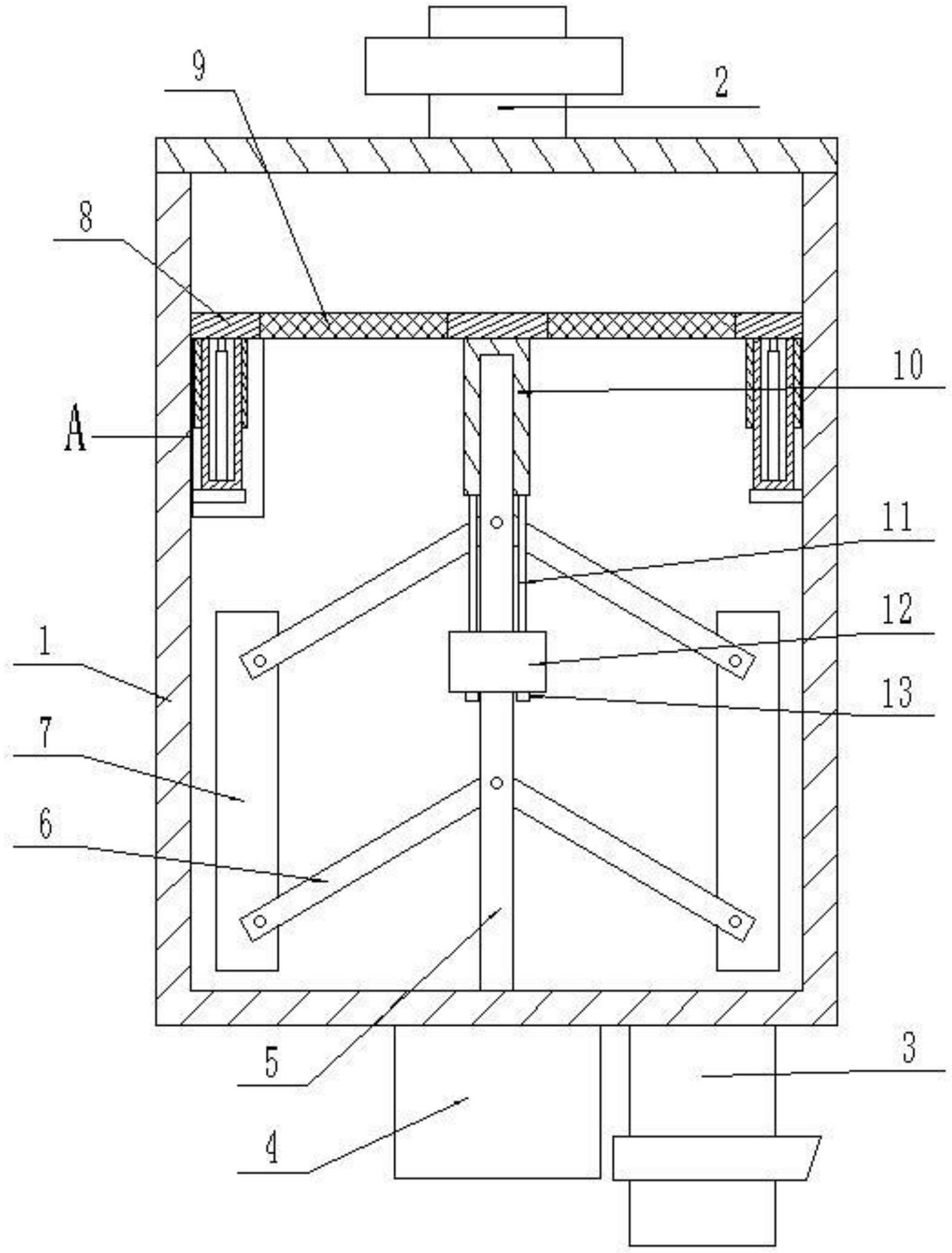
本实用新型涉及到一种婴童洗发沐浴露生产设备领域,具体涉及到一种婴童洗发沐浴露合成装置。包括罐体,罐体上端固定有与其内部连通的进料管,罐体下端固定有与其内部连通的排料管,罐体内部上端滑动密封连接有升降板,升降板上开设有多个孔,孔内固定有滤网,升降板下方的罐体内固定有两个伸缩缸,伸缩缸的伸缩杆与升降板固定连接,升降板下方的罐体内转动设置有转轴,罐体下端固定有驱动转轴转动的电机,转轴的上下两端均设置有两个摆杆,两摆杆远离转轴的一端与竖直的刮板转动连接。本实用新型,能够对基液进行过滤,混合效果好,能够进行刮壁搅拌,从而能够使得基液与芳香剂进行充分混合,合成后的婴童洗发沐浴露方便排出。


