授权公布号:CN215101894U
润肤油灌装防震防漏装置
有效
申请
2021-01-22
申请公布
1970-01-01
授权
2021-12-10
预估到期
2031-01-22
| 申请号 | CN202120182509.8 |
| 申请日 | 2021-01-22 |
| 授权公布号 | CN215101894U |
| 授权公告日 | 2021-12-10 |
| 分类号 | B67C3/22;B67C3/26 |
| 分类 | 开启或封闭瓶子、罐或类似的容器;液体的贮运; |
| 申请人名称 | 中山爱护日用品有限公司 |
| 申请人地址 | 广东省中山市火炬开发区国家健康基地健康路9号 |
专利法律状态
2021-12-10
授权
状态信息
授权
摘要
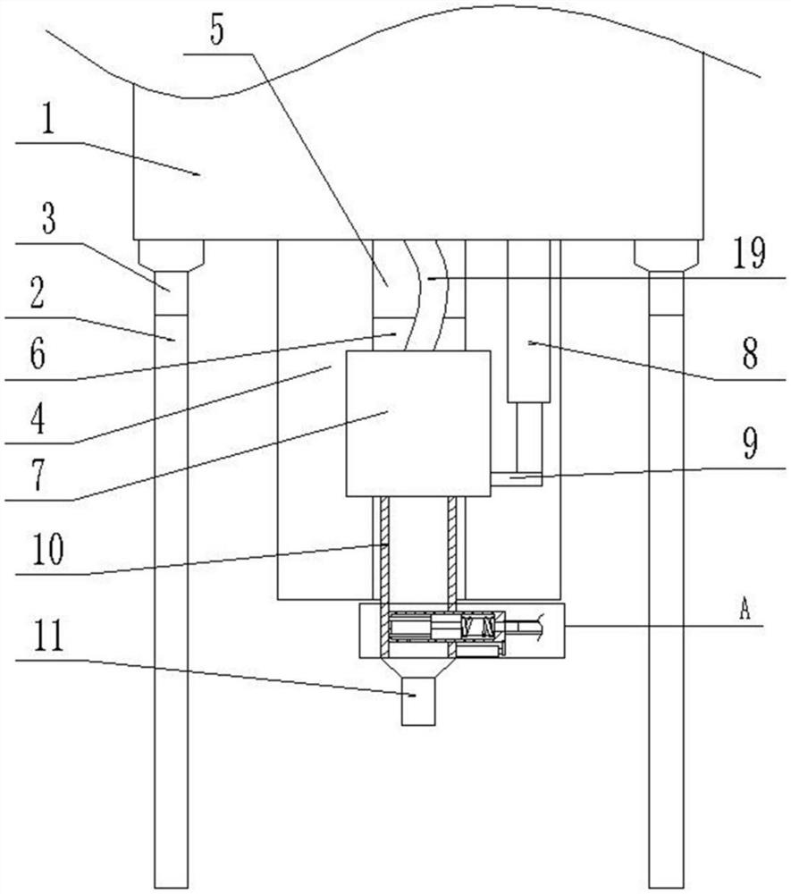
本实用新型涉及到润肤油灌装设备领域,具体涉及到润肤油灌装防震防漏装置。包括料仓,料仓下端四角均固定有减震脚,减震脚下端均固定有支腿,料仓下端固定有立板,立板前端滑动设置有抽料泵,抽料泵与料仓通过耐负压软管连通,立板上固定有驱动抽料泵上下运动的上驱动装置,抽料泵下侧的出口端上固定有竖直的方管,方管下端固定有出料嘴。本实用新型,结构简单,操作方便,能够对灌装设备进行有效的减震,防止出料嘴内残余的润肤油漏出后滴落到容器外表或运输设备中,能够避免润肤油浪费。


