授权公布号:CN214059463U
一种换盒易调整的高效分页机
有效
申请
2020-11-20
申请公布
1970-01-01
授权
2021-08-27
预估到期
2030-11-20
| 申请号 | CN202022694782.7 |
| 申请日 | 2020-11-20 |
| 授权公布号 | CN214059463U |
| 授权公告日 | 2021-08-27 |
| 分类号 | B65H39/02 |
| 分类 | 输送;包装;贮存;搬运薄的或细丝状材料; |
| 申请人名称 | 海昌隐形眼镜有限公司 |
| 申请人地址 | 江苏省镇江市丹阳市司徒镇丹伏路1号 |
专利法律状态
2021-08-27
授权
状态信息
授权
摘要
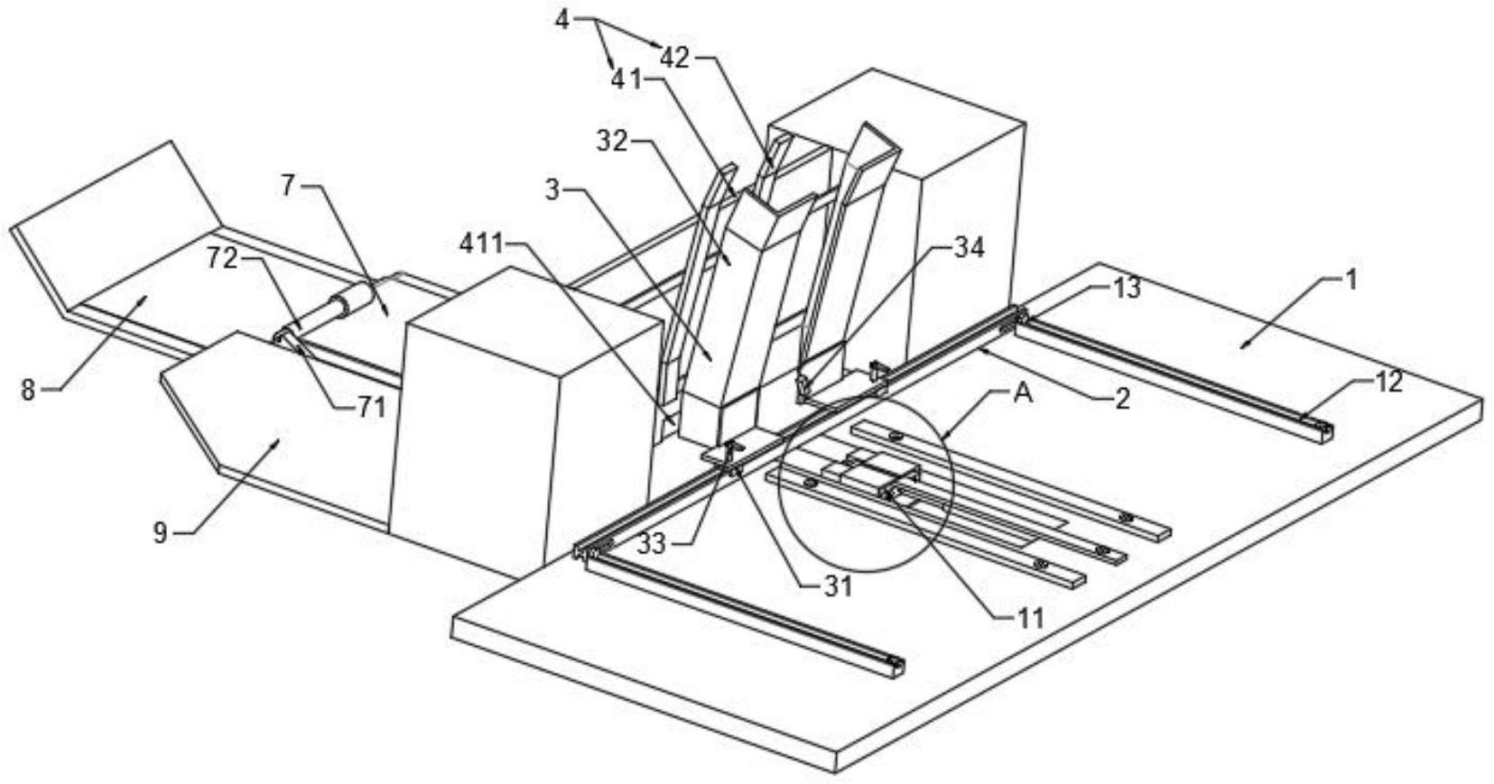
一种换盒易调整的高效分页机,包括送料平台、滑杆、滑动组件、闸门组件和收料组件,所述送料平台的中部设有送料组件,送料平台上设有左右对称的定位条,定位条的一端和滑杆相连,所述的滑杆上设有第二凹槽和两组左右对称的滑动组件,所述的滑动组件包括滑块和送料导杆。本高效分页机通过光电感应和送料推片完成分页工作,分页出来的小盒卡片正,不易歪斜,并且在进行小盒的换盒过程,本高效分页机上的送料导杆可以通过滑块和滑杆完成调节,调节过程简单易操作。


