授权公布号:CN214776898U
一种自动分盒的旋转倒盒装置
有效
申请
2020-11-11
申请公布
1970-01-01
授权
2021-11-19
预估到期
2030-11-11
| 申请号 | CN202022596469.X |
| 申请日 | 2020-11-11 |
| 授权公布号 | CN214776898U |
| 授权公告日 | 2021-11-19 |
| 分类号 | B65B35/44;B65B35/56;B65B57/04;B65B61/26 |
| 分类 | 输送;包装;贮存;搬运薄的或细丝状材料; |
| 申请人名称 | 海昌隐形眼镜有限公司 |
| 申请人地址 | 江苏省镇江市丹阳市司徒镇丹伏路1号 |
专利法律状态
2021-11-19
授权
状态信息
授权
摘要
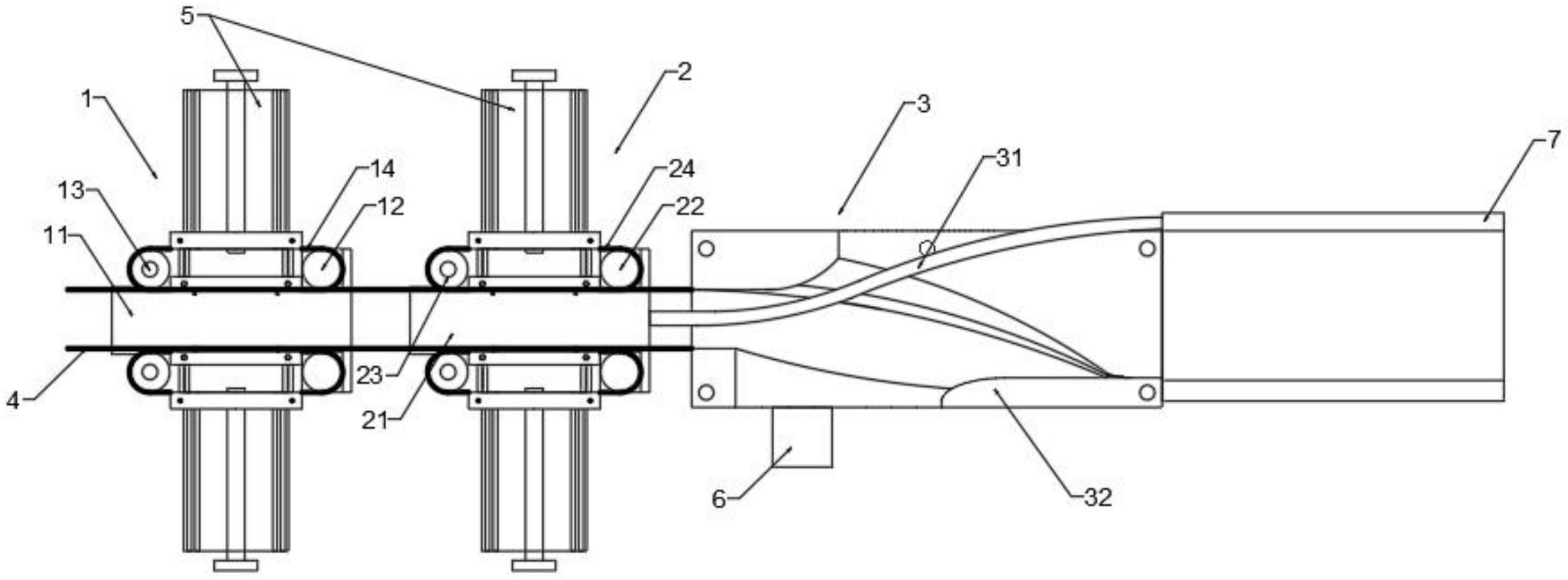
一种自动分盒的旋转倒盒装置,包括整列组件、分盒组件和旋转倒盒组件,所述的整列组件、分盒组件和旋转倒盒组件之间通过过桥板相连,所述的旋转倒盒组件包括翻转限位杆和旋转倒盒平台,本倒盒装置通过整列组件、分盒组件和旋转倒盒组件,将立式包装盒依次间隔开,同时将立式包装盒由竖立状态平稳地转换为平躺状态,转换后的立式包装盒摆放有序,使后续的称重检测和信息镭射打印等工序能顺利完成,不需要人工干预,减少了人力资源,提高了加工效率。


