授权公布号:CN208282652U
供暖电加热器的换热系统
有效
申请
2018-04-13
申请公布
1970-01-01
授权
2018-12-25
预估到期
2028-04-13
| 申请号 | CN201820531463.4 |
| 申请日 | 2018-04-13 |
| 授权公布号 | CN208282652U |
| 授权公告日 | 2018-12-25 |
| 分类号 | F28D7/00 |
| 分类 | 一般热交换; |
| 申请人名称 | 广东今泉节能设备有限公司 |
| 申请人地址 | 广东省佛山市顺德区勒流镇众裕路裕涌红绿灯路口 |
专利法律状态
2018-12-25
授权
状态信息
授权
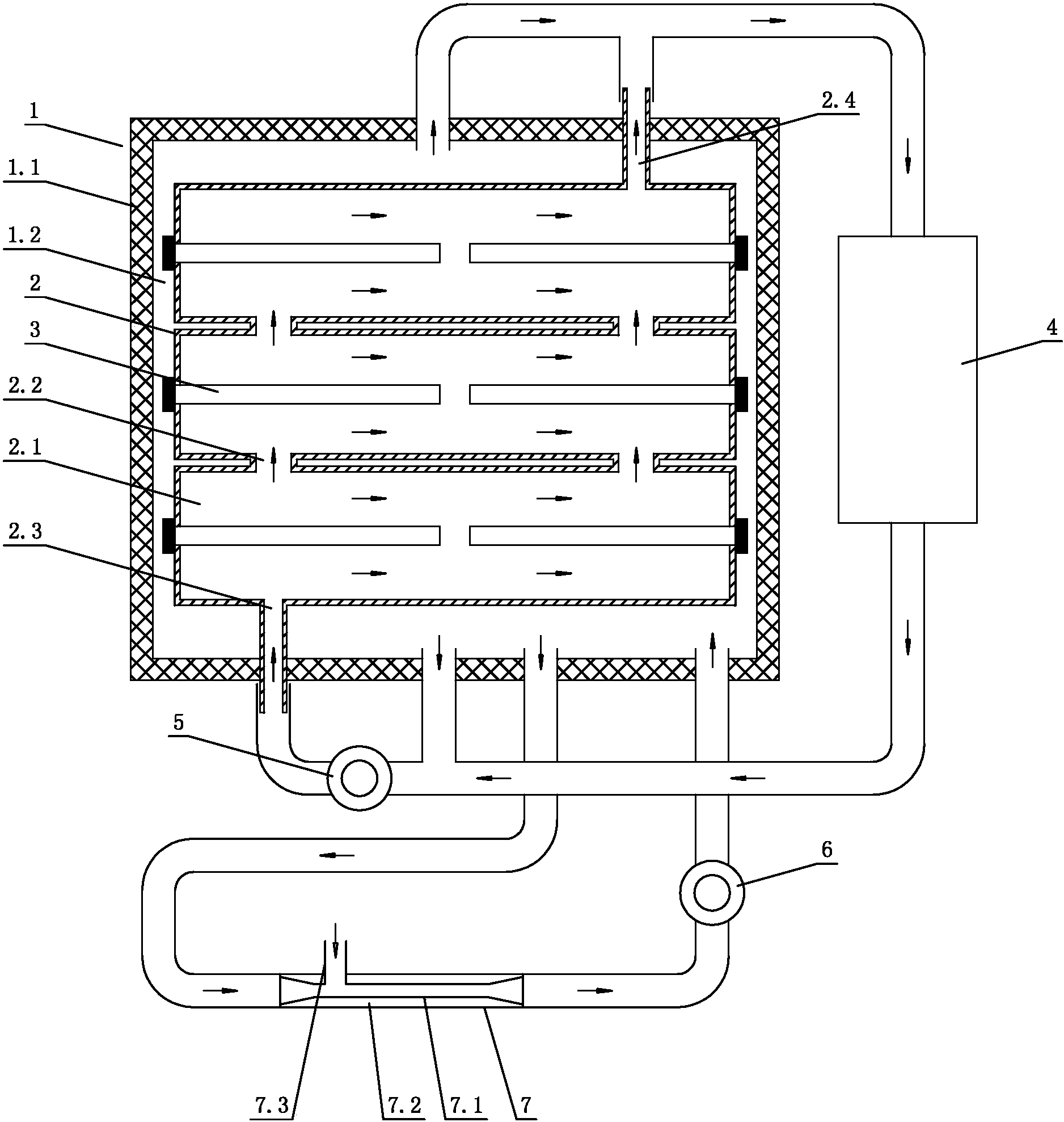
摘要
一种供暖电加热器的换热系统,包括换热水箱和外循环系统;外循环系统包括外循环进水口和外循环出水口;换热水箱内腔设置有换热缸体,换热缸体内设置有多个依次连通的换热室,相邻两换热室之间通过一个或两个以上排水口相互连通,各换热室内设置有一排或两排以上加热体;换热水箱内腔与换热缸体之间形成有预热腔;外循环进水口分别与换热缸体上的换热进水口和预热腔连通,外循环出水口分别与换热缸体上的换热出水口和预热腔连通。本实用新型具有结构简单合理、低碳节能、热效率高、加热均衡、快速加热的特点。


