授权公布号:CN203698936U
密封盖及带有密封盖的储物瓶
失效
申请
2014-01-27
申请公布
1970-01-01
授权
2014-07-09
预估到期
2024-01-27
| 申请号 | CN201420053874.9 |
| 申请日 | 2014-01-27 |
| 授权公布号 | CN203698936U |
| 授权公告日 | 2014-07-09 |
| 分类号 | B65D51/18;B65D45/02 |
| 分类 | 输送;包装;贮存;搬运薄的或细丝状材料; |
| 申请人名称 | 山东瀚邦家居玻璃有限公司 |
| 申请人地址 | 山东省淄博市博山区八陡镇苏家沟村 |
专利法律状态
2024-02-13
专利权的终止
状态信息
专利权有效期届满;IPC(主分类):B65D51/18;申请日:20140127;授权公告日:20140709
2014-07-09
授权
状态信息
授权
摘要
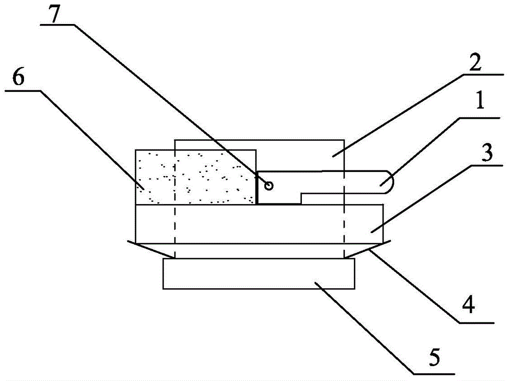
本实用新型属于容器领域,具体涉及一种密封盖及带有密封盖的储物瓶。密封盖包括内瓶盖和外瓶盖,内瓶盖位于外瓶盖内部,内瓶盖下部设有圆形环片,圆形环片位于外瓶盖的下方,圆形环片的直径大于内瓶盖的直径,在圆形环片和外瓶盖之间设置圆形密封圈,圆形密封圈为开口向上的喇叭形,外瓶盖上部设有半圆形挡板,外瓶盖上方设有半圆形提手,半圆形提手和内瓶盖铰接,半圆形提手的外表面分别与外瓶盖的上表面、半圆形挡板的端面接触,铰接点到外瓶盖上表面的垂直距离大于铰接点到半圆形挡板端面的垂直距离。本实用新型具有设计精巧、结构简单、密封性强且方便实用的优点。


