授权公布号:CN216561103U
一种5G光通信模块用多层结构封装陶瓷
有效
申请
2021-07-26
申请公布
1970-01-01
授权
2022-05-17
预估到期
2031-07-26
| 申请号 | CN202121704434.1 |
| 申请日 | 2021-07-26 |
| 授权公布号 | CN216561103U |
| 授权公告日 | 2022-05-17 |
| 分类号 | G02B6/42 |
| 分类 | 光学; |
| 申请人名称 | 北京北斗星通导航技术股份有限公司 |
| 申请人地址 | 浙江省嘉兴市经济开发区塘汇街道正原路66号 |
专利法律状态
2023-11-28
专利申请权、专利权的转移
状态信息
专利权的转移;IPC(主分类):G02B6/42;专利号:ZL2021217044341;登记生效日:20231113;变更事项:专利权人;变更前权利人:嘉兴佳利电子有限公司;变更后权利人:嘉兴佳利电子有限公司;变更事项:地址;变更前权利人:314003 浙江省嘉兴市经济开发区塘汇街道正原路66号;变更后权利人:314003 浙江省嘉兴市经济开发区塘汇街道正原路66号;变更事项:专利权人;变更前权利人:北京北斗星通导航技术股份有限公司嘉兴分公司;变更后权利人:北京北斗星通导航技术股份有限公司
2022-05-17
授权
状态信息
授权
摘要
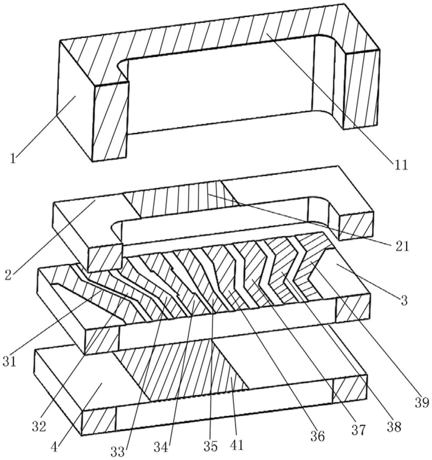
本实用新型涉及一种5G光通信模块用多层结构封装陶瓷,包括至少四层相互叠合的陶瓷块,分别为第一陶瓷层、第二陶瓷层、第三陶瓷层和第四陶瓷层,第二陶瓷层上表面还设有射频线路上接地层,第三陶瓷层上相互间隔设置有多条带状线,带状线包括射频线路组和控电线路组,第四陶瓷层的上表面设有射频线路下接地层,射频线路上接地层与射频线路下接地层分别将射频线路组的上表面和下表面覆盖,第一陶瓷层上表面设有外壳上接地层,第四陶瓷层的下表面设有外壳下接地层,且外壳上接地层和外壳下接地层通过第一接地连接线、第二接地连接线连接。本实用新型实现高频高速下插入损耗指标、反射损耗指标、导通电阻指标满足市场使用要求和确保量产一致性。


