授权公布号:CN209806308U
一种汽车控制盒散热装置和新能源汽车
有效
申请
2019-01-17
申请公布
1970-01-01
授权
2019-12-17
预估到期
2029-01-17
| 申请号 | CN201920083618.7 |
| 申请日 | 2019-01-17 |
| 授权公布号 | CN209806308U |
| 授权公告日 | 2019-12-17 |
| 分类号 | H05K7/20 |
| 分类 | 其他类目不包含的电技术; |
| 申请人名称 | 深圳市航天无线通信技术有限公司 |
| 申请人地址 | 广东省深圳市南山区高新技术产业园区深圳软件园5栋502C |
专利法律状态
2019-12-17
授权
状态信息
授权
摘要
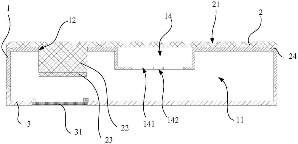
本实用新型公开一种汽车控制盒散热装置和新能源汽车,其中,该汽车控制盒散热装置包括壳体、金属散热板以及盖板;所述壳体具有向下开口的内腔;金属散热板设于所述壳体的顶部,且所述金属散热板的上板面上凹设有多个散热槽;所述盖板位于所述壳体的底部,并盖合所述内腔的下开口,且所述盖板上设有智能卡盖。本实用新型的技术方案可提高新能源汽车控制盒的散热效率。


