授权公布号:CN215334165U
一种液晶仪表防震底座
有效
申请
2021-04-01
申请公布
1970-01-01
授权
2021-12-28
预估到期
2031-04-01
| 申请号 | CN202120672101.9 |
| 申请日 | 2021-04-01 |
| 授权公布号 | CN215334165U |
| 授权公告日 | 2021-12-28 |
| 分类号 | F16F15/067 |
| 分类 | 工程元件或部件;为产生和保持机器或设备的有效运行的一般措施;一般绝热; |
| 申请人名称 | 深圳市索菱实业股份有限公司 |
| 申请人地址 | 广东省深圳市南山区南头街道安乐社区关口二路15号智恒产业园19栋2层 |
专利法律状态
2021-12-28
授权
状态信息
授权
摘要
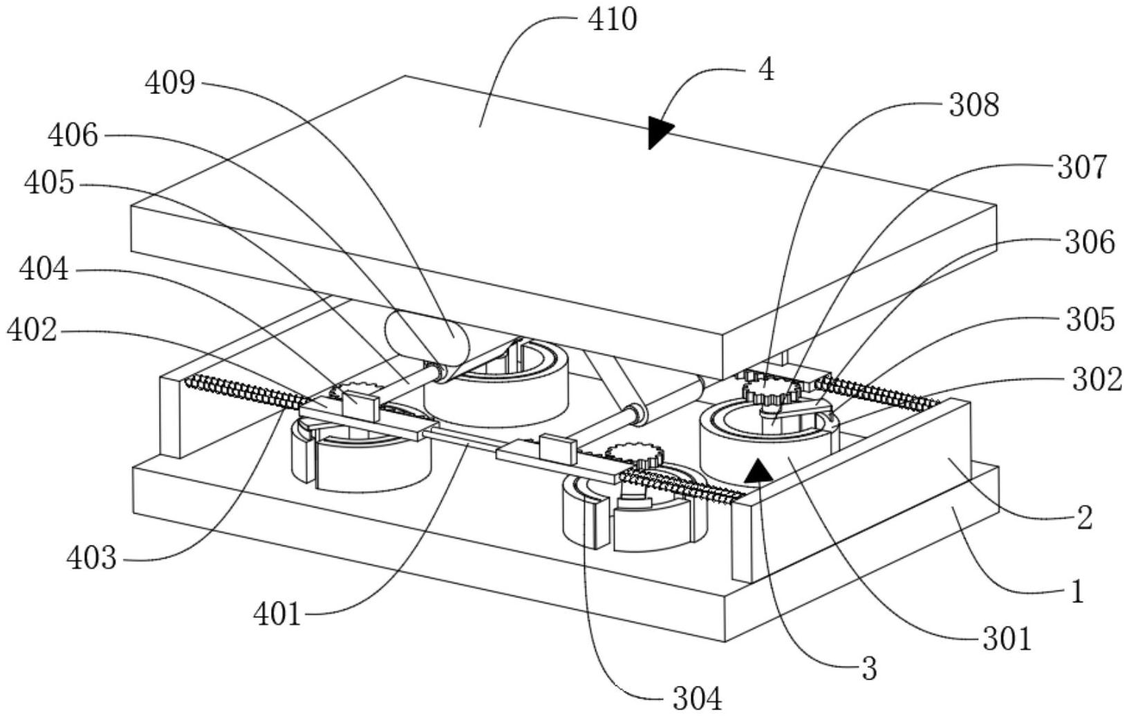
本实用新型涉及防震底座技术领域,特别是一种液晶仪表防震底座,包括底板和第一固定板,所述底板的一侧设置有旋转组件,所述第一固定板的一侧设置有升降组件。本实用新型的优点在于:该液晶仪表防震底座,将液晶仪表放置在承载板上方后,发生震动时,液晶仪表带动承载板下降,使得第三固定板下降,通过第一转轴和第二转轴的作用,使得转动板进行转动,并通过第二固定板的作用,带动齿条在导向杆的外表面进行滑动,压缩弹簧,通过弹簧的伸缩弹力,带动齿条进行复位,对所受震动力进行一定程度的缓冲,同时通过齿条与齿轮的啮合连接关系,使得齿条进行滑动时,齿轮带动转动杆进行转动,使得连接板带动滑板进行转动。


