授权公布号:CN217931467U
测试样品承载组件及样品测试装置
有效
申请
2022-07-05
申请公布
1970-01-01
授权
2022-11-29
预估到期
2032-07-05
| 申请号 | CN202221711827.X |
| 申请日 | 2022-07-05 |
| 授权公布号 | CN217931467U |
| 授权公告日 | 2022-11-29 |
| 分类号 | G01N23/2204;G01N23/2202;G01N23/223 |
| 分类 | 测量;测试; |
| 申请人名称 | 克鲁勃润滑产品(上海)有限公司 |
| 申请人地址 | 上海市青浦区青浦工业园区拓青路88号 |
专利法律状态
2022-11-29
授权
状态信息
授权
摘要
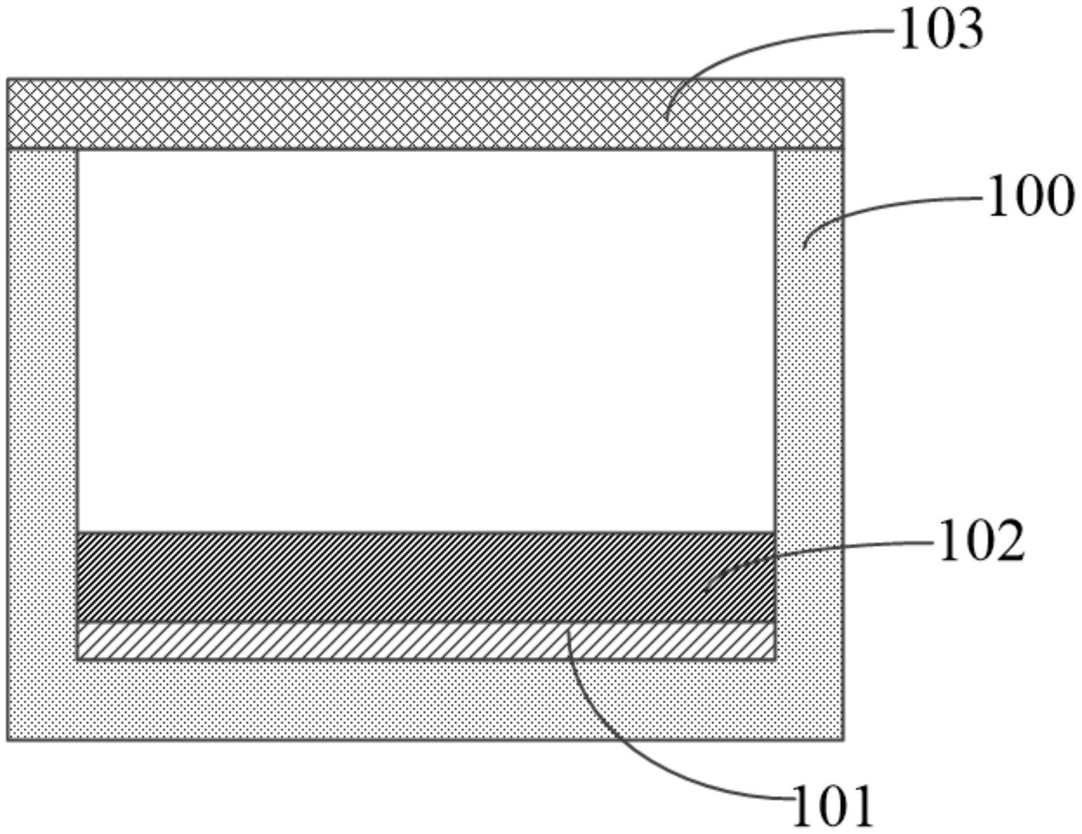
一种测试样品承载组件以及样品测试装置,其中,测试样品承载组件包括:样品杯,所述样品杯底部用于容纳待测样品;遮挡片,所述遮挡片设置于所述样品杯内并用于覆盖待测样品表面。所述测试样品承载组件以及样品测试装置降低了样品的测试成本,且扩大了待测样品的范围。


