授权公布号:CN211586579U
一种反应釜及用于反应釜的挂钩机构
有效
申请
2019-12-13
申请公布
1970-01-01
授权
2020-09-29
预估到期
2029-12-13
| 申请号 | CN201922235553.6 |
| 申请日 | 2019-12-13 |
| 授权公布号 | CN211586579U |
| 授权公告日 | 2020-09-29 |
| 分类号 | B01J19/18;B01J19/00 |
| 分类 | 一般的物理或化学的方法或装置; |
| 申请人名称 | 克鲁勃润滑产品(上海)有限公司 |
| 申请人地址 | 上海市青浦区青浦工业园区拓青路88号 |
专利法律状态
2020-09-29
授权
状态信息
授权
摘要
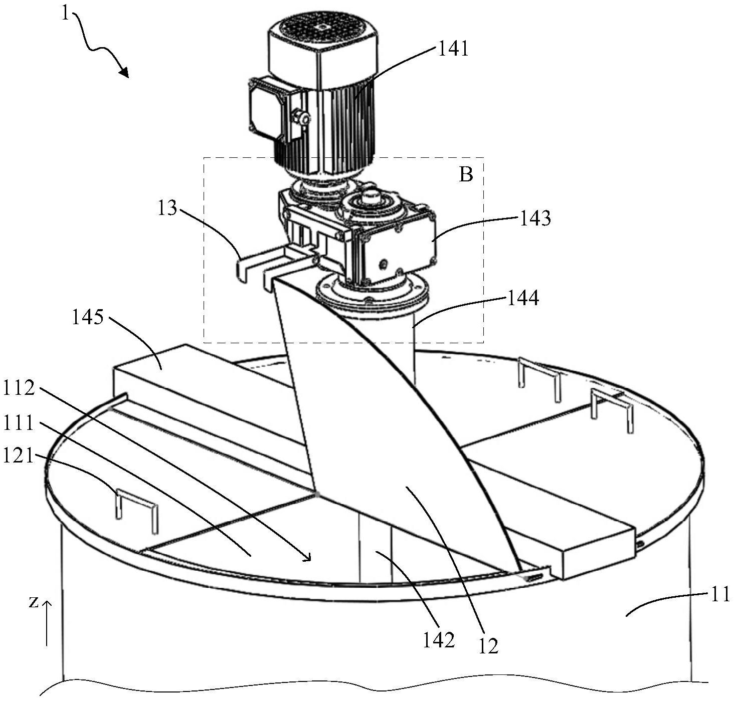
一种反应釜及用于反应釜的挂钩机构,所述反应釜包括本体和盖部,所述本体具有容纳腔以及暴露所述容纳腔的开口,所述盖部可相对所述本体运动以打开或关闭所述开口,所述挂钩机构包括:固定部,所述固定部直接或间接地设置于所述本体;钩部,所述钩部与所述固定部铰接并可绕铰接轴转动,所述钩部用于与所述盖部耦合以将所述盖部锁定在打开位置,其中,位于所述打开位置的盖部打开所述开口。本实用新型提供的方案通过挂钩机构将盖部牢固地保持在打开位置,无需工人手动维持盖部位置,方便工人操作。


