授权公布号:CN208269475U
一种抽屉式冰箱散冷结构
有效
申请
2018-03-29
申请公布
1970-01-01
授权
2018-12-21
预估到期
2028-03-29
| 申请号 | CN201820451157.X |
| 申请日 | 2018-03-29 |
| 授权公布号 | CN208269475U |
| 授权公告日 | 2018-12-21 |
| 分类号 | F25D11/00;F25D17/06;F25D19/00 |
| 分类 | 制冷或冷却;加热和制冷的联合系统;热泵系统;冰的制造或储存;气体的液化或固化; |
| 申请人名称 | 多美达(深圳)电器有限公司 |
| 申请人地址 | 广东省深圳市龙岗区平湖街道平湖社区芳坑路39号 |
专利法律状态
2019-04-16
专利权人的姓名或者名称、地址的变更
状态信息
专利权人的姓名或者名称、地址的变更;IPC(主分类):F25D 11/00;专利号:ZL201820451157X;变更事项:专利权人;变更前:美固电子(深圳)有限公司;变更后:多美达(深圳)电器有限公司;变更事项:地址;变更前:518033 广东省深圳市福田区中心区23-1-6卓越大厦1507至1509(A);变更后:518111 广东省深圳市龙岗区平湖街道平湖社区芳坑路39号
2018-12-21
实用新型专利权授予
状态信息
授权
摘要
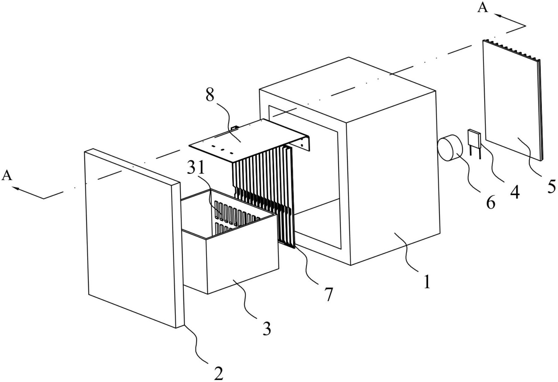
本实用新型涉及冰箱技术领域,具体公开了一种抽屉式冰箱散冷结构,包括冰箱褒体、安装在所述冰箱褒体上的冰箱门体,以及抽屉,所述冰箱褒体和所述冰箱门体构成密闭的储物空间,所述抽屉位于所述储物空间中,还包括半导体制冷片,与所述半导体制冷片制热端连接的散热器,与所述半导体制冷片制冷端连接的第一散冷器,所述抽屉靠近所述第一散冷器的一侧设有多个通风孔。本实用新型通过在导温部靠近抽屉的一侧设置第一散冷器,并且在抽屉靠近第一散冷器的一端设置通风孔,第一散冷器散发的冷气可以通过通风孔直接进入抽屉内对抽屉内的空间进行冷却,提高了制冷速度,同时提高了半导体制冷片的制冷效率。


