授权公布号:CN219145468U
配电监测组件
有效
申请
2022-12-15
申请公布
1970-01-01
授权
2023-06-06
预估到期
2032-12-15
| 申请号 | CN202223366277.5 |
| 申请日 | 2022-12-15 |
| 授权公布号 | CN219145468U |
| 授权公告日 | 2023-06-06 |
| 分类号 | H04N23/50;H04N23/52;B08B1/00;B08B1/04;H02K7/14;H02K7/116;H01F27/40;H01F27/02 |
| 分类 | 电通信技术; |
| 申请人名称 | 苏州工业园区和顺电气股份有限公司 |
| 申请人地址 | 江苏省苏州市工业园区和顺路8号 |
专利法律状态
2023-06-06
授权
状态信息
授权
摘要
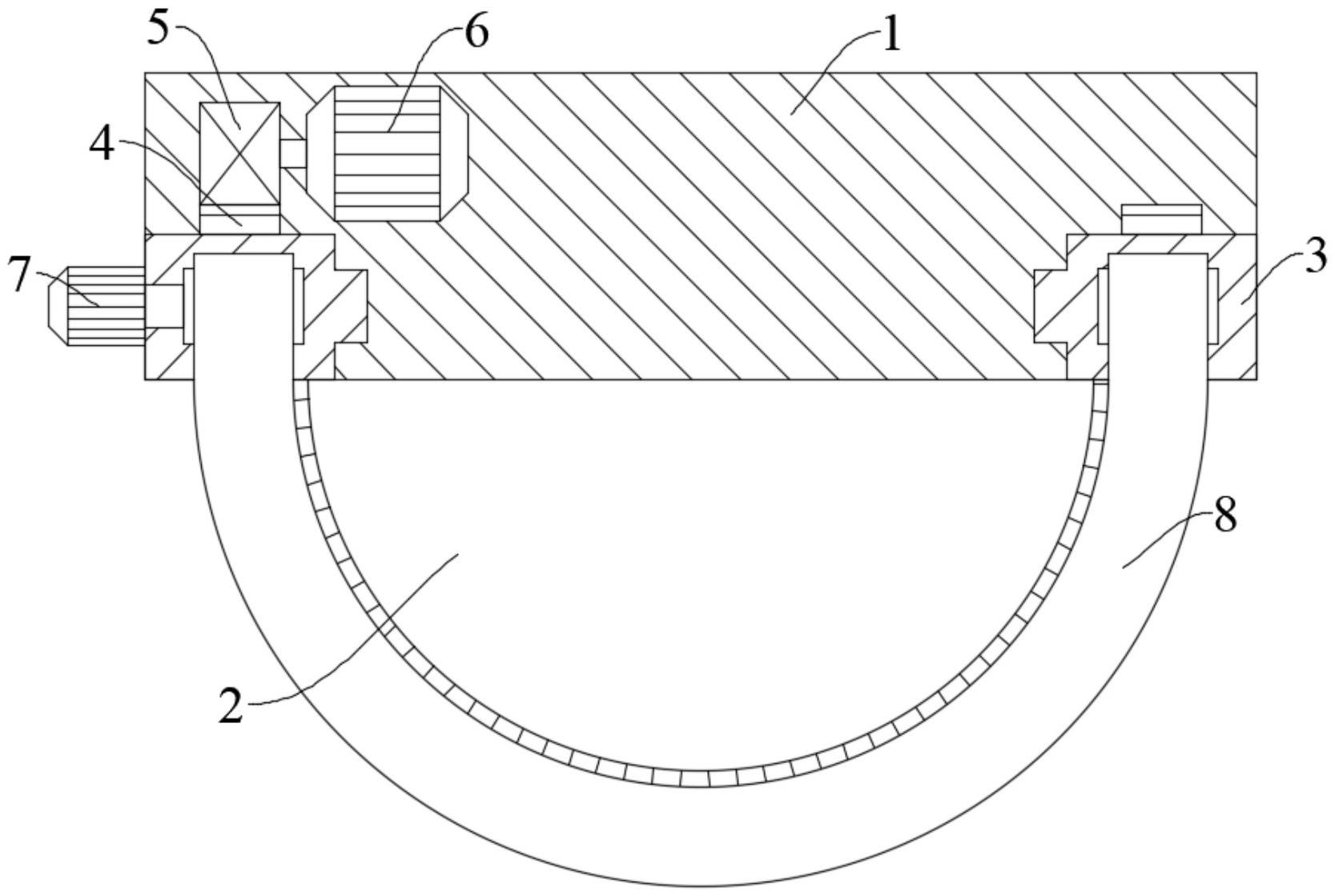
本实用新型公开一种配电监测组件,通过支架安装于变压器本体上,包括:顶面与支架连接的本体和安装于本体下方的半球形玻璃罩,所述本体的外侧可转动地安装有一转动环,所述转动环的上端面设置有一沿全圆周方向延伸的环形齿条,一驱动齿轮设置于所述环形齿条上方并与该环形齿条啮合,所述转动环的一侧的外壁上安装有一旋转电机,该旋转电机的输出轴沿径向穿入转动环内并与一弧形刷板的一端连接,本实用新型实现对半球形玻璃罩上长时间积累污渍的清洁,使得监测摄像头始终保持清晰的监控、记录,还可以妥善收纳具有清洁刷毛的弧形刷板,避免刷毛自身受到外部环境的污染,保证对半球形玻璃罩的清洁效果和效率。


