授权公布号:CN218944948U
一种食盐搅拌设备
有效
申请
2022-12-19
申请公布
1970-01-01
授权
2023-05-02
预估到期
2032-12-19
| 申请号 | CN202223394856.0 |
| 申请日 | 2022-12-19 |
| 授权公布号 | CN218944948U |
| 授权公告日 | 2023-05-02 |
| 分类号 | B01F33/83;B01F35/71;B01F35/11;B01F101/06N |
| 分类 | 一般的物理或化学的方法或装置; |
| 申请人名称 | 浙江绿海制盐有限责任公司 |
| 申请人地址 | 浙江省舟山市岱山县经济开发区徐福大道246号 |
专利法律状态
2023-05-02
授权
状态信息
授权
摘要
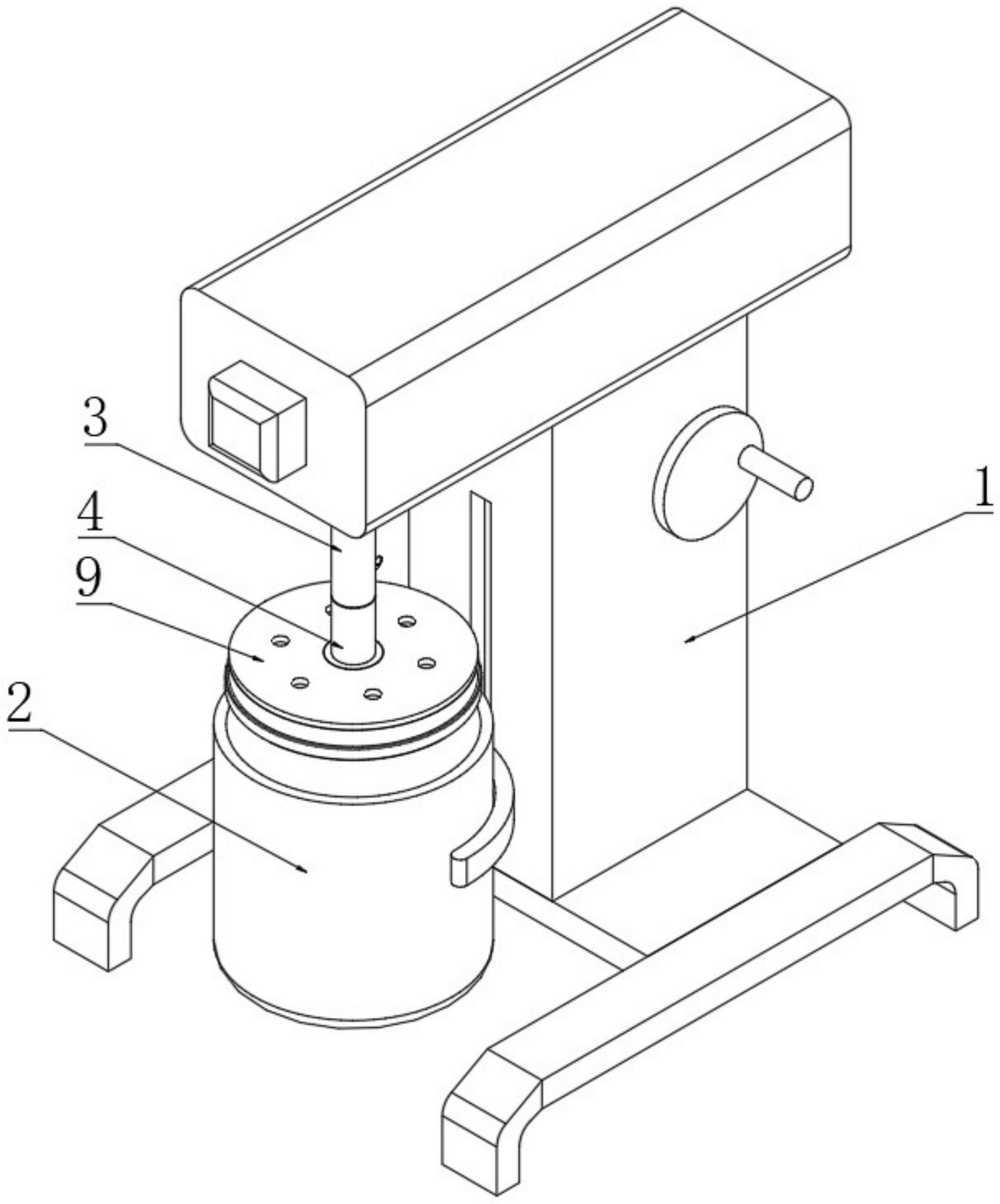
本实用新型属于食品加工技术领域,尤其涉及一种食盐搅拌设备,包括搅拌机本体,所述搅拌机本体一侧卡接放置有放置筒,还包括,转动杆,所述转动杆固定连接于搅拌机本体内部电机输出轴端,搅拌组件,所述搅拌组件设置在转动杆底侧,所述搅拌组件位于放置筒正上方;通过进料孔,方便食盐倒入放置筒内部时食盐落入连接网顶面,由于搅拌机本体的作用带动连接杆旋转,以此连接杆带动搅拌板对食盐进行搅拌,同时通过导向槽,便于对食盐进行堆积,并由于辅助辊沿着连接网顶面滚动,使得辅助辊不断的与导向槽内部的食盐进行接触,以此盐块进行充分破碎的同时,破碎的食盐沿着辅助辊的转动方向快速的导出连接网,以此加快破碎的速度。


