授权公布号:CN218445339U
一种用于螨虫的测试装置
有效
申请
2022-05-30
申请公布
1970-01-01
授权
2023-02-03
预估到期
2032-05-30
| 申请号 | CN202221331273.0 |
| 申请日 | 2022-05-30 |
| 授权公布号 | CN218445339U |
| 授权公告日 | 2023-02-03 |
| 分类号 | G01N33/00;G06M15/00 |
| 分类 | 测量;测试; |
| 申请人名称 | 中山榄菊日化实业有限公司 |
| 申请人地址 | 广东省中山市小榄镇乐丰路 |
专利法律状态
2023-02-03
授权
状态信息
授权
摘要
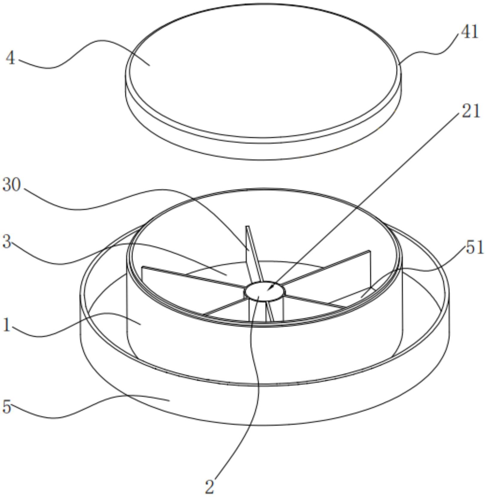
本申请涉及一种用于螨虫的测试装置,包括测试箱体,所述测试箱体中空设置且顶部设有第一开口;至少一个试虫放置盒,所述试虫放置盒的底端与所述测试箱体的底部连接、所述试虫放置盒的顶端朝向所述第一开口延伸设置以形成自由端,所述试虫放置盒的自由端开设有第二开口;多个试验盒,所述试验盒的顶部开设有第三开口,所述试验盒在测试箱体中环绕所述试虫放置盒外侧设置;顶盖,所述顶盖盖合于所述第一开口,盖合状态下时,所述顶盖与所述第二开口、第三开口之间留有预定的间隙。本申请具有提高工作效率和节约成本的效果。


