授权公布号:CN103048579B
直流母线之间及对地绝缘的监测装置
有效
申请
2012-11-08
申请公布
2013-04-17
授权
2015-05-06
预估到期
2032-11-08
| 申请号 | CN201210442968.0 |
| 申请日 | 2012-11-08 |
| 申请公布号 | CN103048579A |
| 申请公布日 | 2013-04-17 |
| 授权公布号 | CN103048579B |
| 授权公告日 | 2015-05-06 |
| 分类号 | G01R31/02;G01R27/02;G01R27/20 |
| 分类 | 测量;测试; |
| 申请人名称 | 珠海泰坦科技股份有限公司 |
| 申请人地址 | 广东省珠海市石花西路60号泰坦科技园珠海泰坦科技股份有限公司 |
专利法律状态
2015-05-06
授权
状态信息
授权
2013-05-15
实质审查的生效
状态信息
实质审查的生效IPC(主分类):G01R 31/02申请日:20121108
2013-04-17
公布
状态信息
公开
摘要
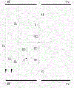
本发明公开并提供了一种直流母线之间及对地绝缘的监测装置,它包括平衡电阻一至平衡电阻四(R1、R2、R3、R4)、不平衡电阻(R5)和第三继电器(J3)及测量两段母线电压的切换继电器(ZJ),以及用于监测两段母线即第一段母线(1M)和第二段母线(2M)短接的第一继电器(J1)、第二继电器(J2)组成,改变所述切换继电器(ZJ)与所述第一段母线(1M)和第二段母线(2M)的连接,分别监测所述第一段母线(1M)和第二段母线(2M)中的正母线和负母线彼此相互间的绝缘电阻和各母线对地绝缘电阻。


