授权公布号:CN219575973U
一种电气连接结构及电气连接组件
有效
申请
2023-03-31
申请公布
1970-01-01
授权
2023-08-22
预估到期
2033-03-31
| 申请号 | CN202320694284.3 |
| 申请日 | 2023-03-31 |
| 授权公布号 | CN219575973U |
| 授权公告日 | 2023-08-22 |
| 分类号 | H01R12/58;H05K1/11 |
| 分类 | 基本电气元件; |
| 申请人名称 | 科华数据股份有限公司 |
| 申请人地址 | 福建省厦门市厦门火炬高新区火炬园马垄路457号 |
专利法律状态
2023-08-22
授权
状态信息
授权
摘要
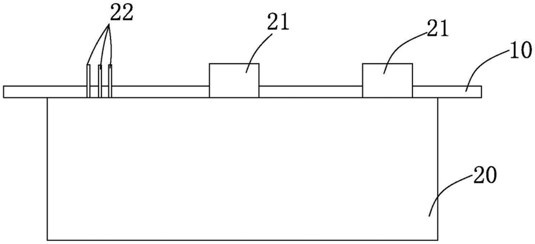
本实用新型公开了一种电气连接结构及电气连接组件,电路板设有至少两个连接插孔单元,每个连接插孔单元包括至少两个连接插孔,每个连接插孔周围设有连接焊盘;电气件设有与各连接插孔对应的连接引脚,与同一连接插孔单元对应的各连接引脚适于穿过对应的连接插孔并通过连焊使电路板与电气件实现物理连接;连接焊盘与电路板上的电路隔绝,连接引脚与电气件上电路隔绝。电气连接组件包括上述电气连接结构。本实用新型的电气连接结构及电气连接组件,通过设置连接引脚和连接插孔,并将连接引脚连焊,可防止电气件自电路板脱落。


