授权公布号:CN109816195B
一种充电场站电能损耗计量系统和计量方法
有效
申请
2018-12-05
申请公布
2019-05-28
授权
2024-01-05
预估到期
2038-12-05
| 申请号 | CN201811481000.2 |
| 申请日 | 2018-12-05 |
| 申请公布号 | CN109816195A |
| 申请公布日 | 2019-05-28 |
| 授权公布号 | CN109816195B |
| 授权公告日 | 2024-01-05 |
| 分类号 | G06Q10/0631;G06Q50/06 |
| 分类 | 计算;推算;计数; |
| 申请人名称 | 深圳市科陆电子科技股份有限公司 |
| 申请人地址 | 广东省深圳市光明新区观光路3009号招商局光明科技园A6栋2A |
专利法律状态
2024-01-05
授权
状态信息
授权
2021-03-30
实质审查的生效
状态信息
实质审查的生效;IPC(主分类):G06Q10/06;申请日:20181205
2019-05-28
公布
状态信息
公布
摘要
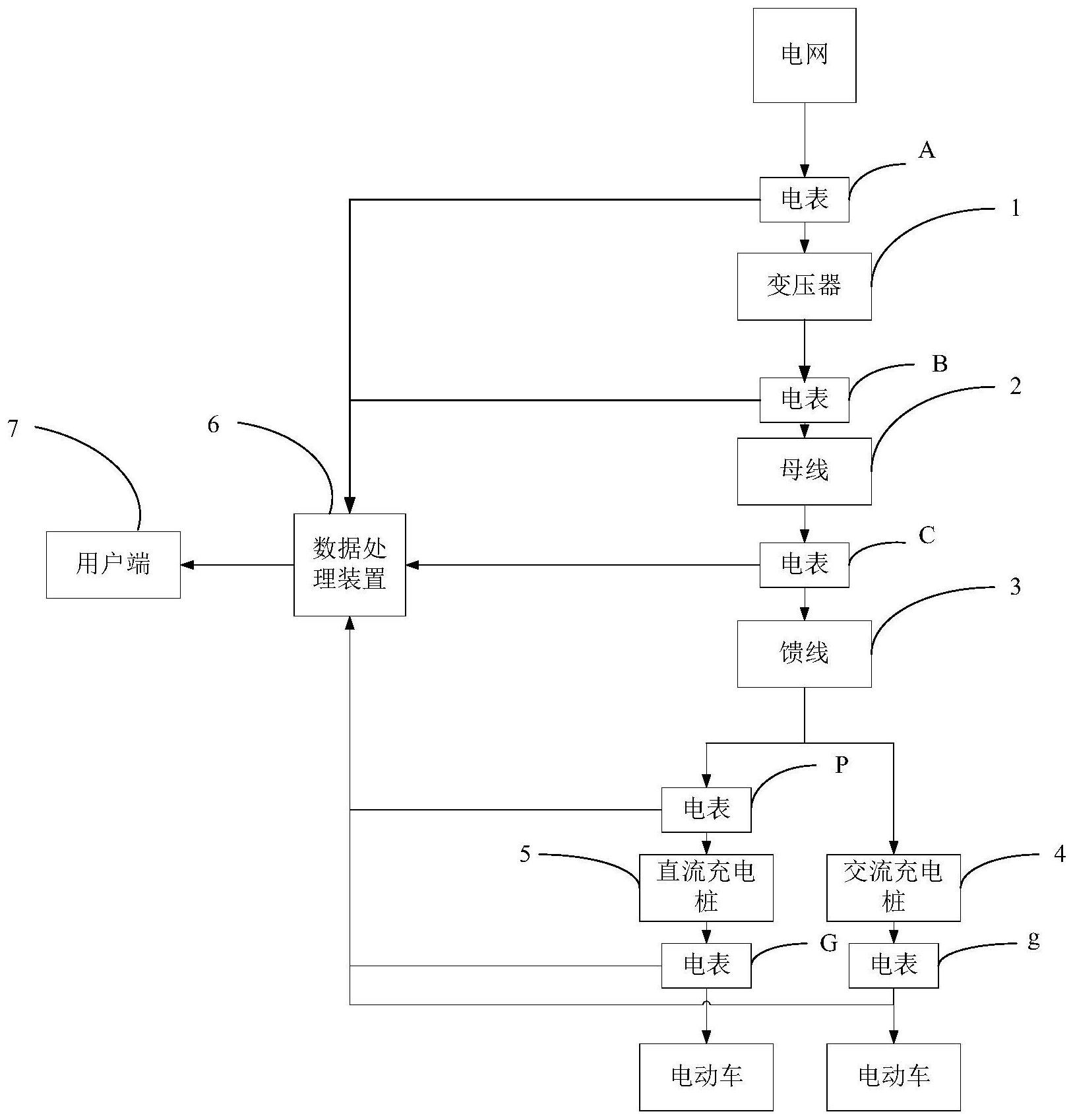
一种充电场站电能损耗计量系统和计量方法,本发明涉及一种充电场站电量损耗系统,应用于该系统的计量方法、数据处理装置和数据处理方法,通过安装在变压器进线侧、母线进线侧、馈线进线侧、直流充电桩进线侧、直流枪输出侧和交流枪输出侧的电表采集电表电能数据,直流充电桩和交流充电桩采集订单时间和订单电能数据,订单时间、订单电能数据和电表电能数据网络传输到数据处理装置,数据处理装置计算出变压器损耗、母线损耗、每路馈线损耗、每个直流充电桩转换损耗和每个枪的计量损耗,并将损耗明细以日报、周报和月报的形式传输给用户端,明确了整个充电站从变压器、母线、每路馈线馈线、每个充电桩、到每把充电枪的用电损耗情况,让运营者及时掌握将整个充电场站电量损耗情况。


