授权公布号:CN113567717B
用于表箱终端的开门检测装置及开门检测方法
有效
申请
2021-06-21
申请公布
2021-10-29
授权
2024-03-12
预估到期
2041-06-21
| 申请号 | CN202110685399.1 |
| 申请日 | 2021-06-21 |
| 申请公布号 | CN113567717A |
| 申请公布日 | 2021-10-29 |
| 授权公布号 | CN113567717B |
| 授权公告日 | 2024-03-12 |
| 分类号 | G01R11/04;G01R11/24;G01R22/06;G01V3/02 |
| 分类 | 测量;测试; |
| 申请人名称 | 深圳市科陆电子科技股份有限公司 |
| 申请人地址 | 广东省深圳市光明新区观光路3009号招商局光明科技园A6栋2A |
专利法律状态
2024-03-12
授权
状态信息
授权
2021-11-30
实质审查的生效
状态信息
实质审查的生效;IPC(主分类):G01R11/04;申请日:20210621
2021-10-29
公布
状态信息
公布
摘要
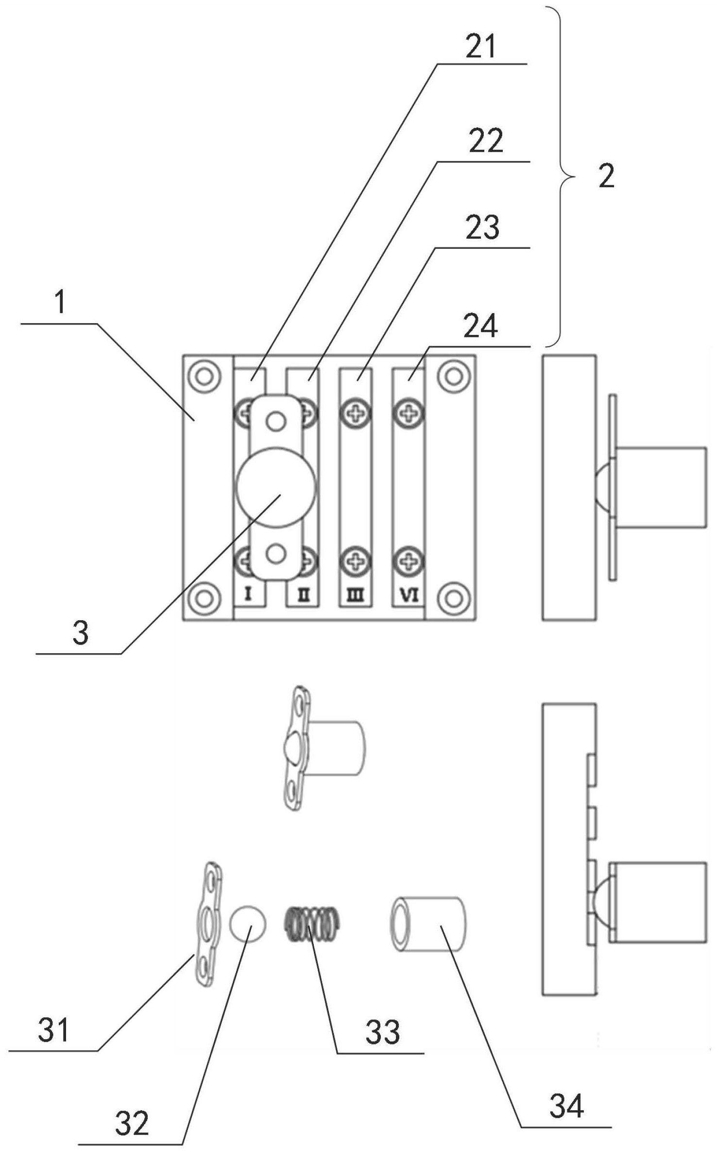
本发明公开了一种用于表箱终端的开门检测装置及开门检测方法,其中,开门检测装置包括基座、四个金属片和滚珠组件。基座安装于表箱终端内,基座上装设有控制器;四个金属片包括间隔预设距离并排装设于基座上并分别与控制器电性连接的第一金属片、第二金属片、第三金属片和第四金属片;滚珠组件包括依次套设的限位片、滚珠、弹簧和套筒,套筒装设于表箱终端的门内侧,滚珠与四个金属片中的一个或两个接触;滚珠依次经过四个金属片的三个缝隙时,滚珠依次两两导通四个金属片,以判定表箱终端的门被打开。本发明通过在门的状态不改变时电池没有负载放电,在小容量后备电池情况下可进行多次开门或者关门状态的检测和记录,有效降低检测装置耗电量。


