授权公布号:CN217670664U
保温箱专用模具
有效
申请
2022-05-05
申请公布
1970-01-01
授权
2022-10-28
预估到期
2032-05-05
| 申请号 | CN202221051705.2 |
| 申请日 | 2022-05-05 |
| 授权公布号 | CN217670664U |
| 授权公告日 | 2022-10-28 |
| 分类号 | B29C43/50;B29C43/02;B29C43/36;B29C43/32 |
| 分类 | 塑料的加工;一般处于塑性状态物质的加工; |
| 申请人名称 | 泉州市恒冠电子发展有限公司 |
| 申请人地址 | 福建省泉州市南安市霞美光伏电子信息产业基地14号 |
专利法律状态
2022-10-28
授权
状态信息
授权
摘要
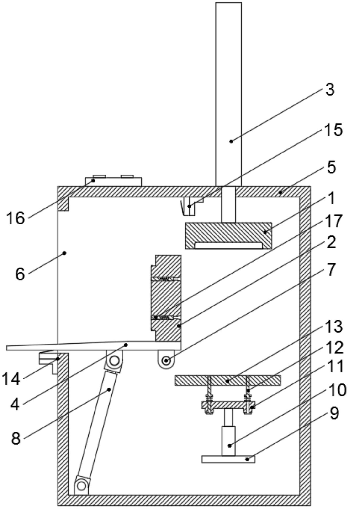
本实用新型属于保温箱模具技术领域,具体涉及保温箱专用模具,包括上模体和下模体,上模体安装在千斤顶底部,下模体安装在安装板上且下模体内侧滑动安装有顶杆,千斤顶安装在外壳体顶面,安装板通过转动座转动安装在外壳体内侧,外壳体侧面开设有取料口,安装板转动连接液压杆一,外壳体内侧安装的固定座上安装有液压杆二,液压杆二顶端连接连接座底面,连接座上滑动安装有顶杆,顶杆的上侧滑动插接在定位座中,外壳体的外侧面固定安装有行程开关一,外壳体的内顶面固定安装有行程开关二,通过可翻转并进行精确定位的下模体的设计,在压塑及取料过程中,避免操作人员肢体进入上模体与下模体之间进行危险动作,保证了操作者的作业安全。


