授权公布号:CN110883475B
用于汽车尾饰管焊接的防飞溅装置
有效
申请
2018-09-11
申请公布
2020-03-17
授权
2023-05-09
预估到期
2038-09-11
| 申请号 | CN201811057745.6 |
| 申请日 | 2018-09-11 |
| 申请公布号 | CN110883475A |
| 申请公布日 | 2020-03-17 |
| 授权公布号 | CN110883475B |
| 授权公告日 | 2023-05-09 |
| 分类号 | B23K37/04;B23K37/00 |
| 分类 | 机床;不包含在其他类目中的金属加工; |
| 申请人名称 | 上海保隆汽车科技股份有限公司 |
| 申请人地址 | 上海市松江区沈砖公路5500号 |
专利法律状态
2023-05-09
授权
状态信息
授权
2020-03-17
公布
状态信息
公布
摘要
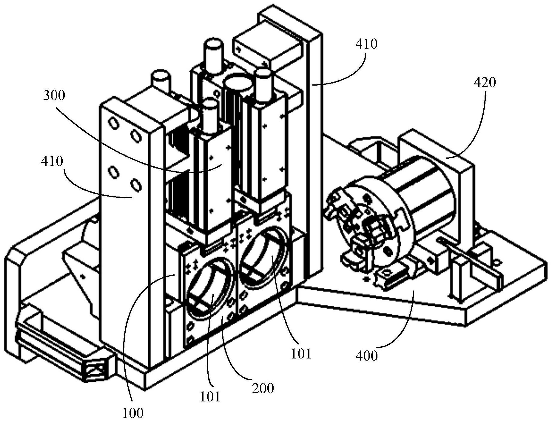
本发明提供了一种用于汽车尾饰管焊接的防飞溅装置,包括第一夹持部、第二夹持部和动作部。该第一夹持部包括第一夹块和第一挡板,第一夹块具有第一容纳槽,第一挡板可滑动地设置在所述第一夹块的前侧面,第一挡板具有露出第一容纳槽的第一凹陷部;该第二夹持部与第一夹持部相对设置,第二夹持部具有与第一容纳槽对应的第二容纳槽,当第一夹持部和第二夹块夹持时,第一容纳槽和第二容纳槽形成用于容纳尾饰管的容纳孔;该动作部与第一夹块和第一挡板连接以带动第一夹块和第一挡板在靠近和远离第二夹持部的第一方向运动;其中第一挡板的滑动方向与第一方向相同。本发明可以有效地防止焊接时的飞溅黏附到产品电镀外表面,避免造成报废。


