授权公布号:CN218549590U
定子总成用铁芯及定子总成
有效
申请
2022-11-09
申请公布
1970-01-01
授权
2023-02-28
预估到期
2032-11-09
| 申请号 | CN202222983187.4 |
| 申请日 | 2022-11-09 |
| 授权公布号 | CN218549590U |
| 授权公告日 | 2023-02-28 |
| 分类号 | H02K1/16;H02K3/34;H02K3/50 |
| 分类 | 发电、变电或配电; |
| 申请人名称 | 上海法雷奥汽车电器系统有限公司 |
| 申请人地址 | 上海市浦东新区泰华路800号 |
专利法律状态
2023-02-28
授权
状态信息
授权
摘要
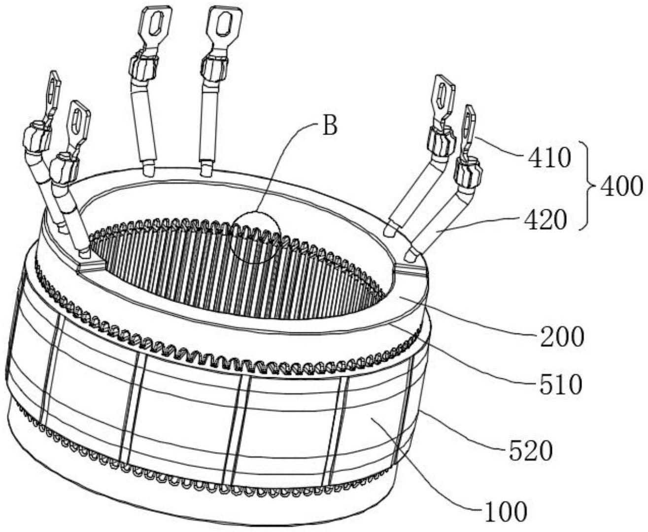
本实用新型涉及启动发电一体机技术领域,公开一种定子总成用铁芯及定子总成。其中定子总成用铁芯包括铁芯本体和凸齿,呈中空圆柱形,凸齿沿铁芯本体的周向均匀间隔设置于铁芯本体的内壁,相邻两个凸齿之间围设成线槽,线槽用于容置铜线;线槽的宽度与铜线的直径适配,以使线槽沿其宽度方向上仅容置一根铜线;凸齿的端部能设置有朝向线槽的线锁凸起,线锁凸起能将铜线锁定于线槽内。本实用新型线槽的宽度与铜线的直径相适配,使得铜线仅能以单排的形式设置于线槽内,提高了槽满率。通过设置线锁凸起,用于将铜线锁定于线槽内,使得铜线更不易脱出线槽,提升安装强度;取消设置槽牙角和槽楔,优化了结构,减少了物料和加工成本。


