授权公布号:CN208576530U
一种扇形机车刮水器系统
有效
申请
2018-07-24
申请公布
1970-01-01
授权
2019-03-05
预估到期
2028-07-24
| 申请号 | CN201821176018.7 |
| 申请日 | 2018-07-24 |
| 授权公布号 | CN208576530U |
| 授权公告日 | 2019-03-05 |
| 分类号 | B60S1/18;B60S1/50 |
| 分类 | 一般车辆; |
| 申请人名称 | 瑞安市亚星汽车配件有限公司 |
| 申请人地址 | 浙江省温州市瑞安市东山街道飞云江大桥东侧巾子山西首 |
专利法律状态
2019-03-05
授权
状态信息
授权
摘要
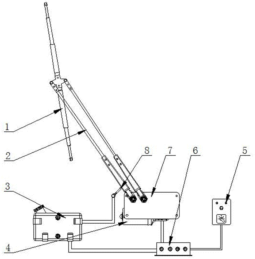
本实用新型公开了一种扇形机车刮水器系统,包括刮片、刮臂、洗涤水箱、刮水电机、控制开关、刮水器控制盒、驱动机构和穿墙接头,所述驱动机构的一侧对应安装有刮臂,所述刮臂的一侧设置有穿墙接头,且两个刮臂之间连接有刮片,所述穿墙接头的一端通过水管连接有洗涤水箱,所述驱动机构的一侧设置有刮水电机,所述驱动机构的一侧通过导线电性连接有刮水器控制盒,且刮水器控制盒与洗涤水箱之间通过导线电性连接,所述刮水器控制盒的一侧通过导线电性连接有控制开关;所述驱动机构由驱动电机、摇臂、输出轴套、输出轴、电机安装板、凸轮、电机轴、连杆和关节轴承组成,本实用新型,具有刮刷区域大及实用性强的特点。


