授权公布号:CN207773093U
一种小型卧式对刮刮水器
有效
申请
2018-01-30
申请公布
1970-01-01
授权
2018-08-28
预估到期
2028-01-30
| 申请号 | CN201820158383.9 |
| 申请日 | 2018-01-30 |
| 授权公布号 | CN207773093U |
| 授权公告日 | 2018-08-28 |
| 分类号 | B60S1/34;B60S1/40 |
| 分类 | 一般车辆; |
| 申请人名称 | 瑞安市亚星汽车配件有限公司 |
| 申请人地址 | 浙江省温州市瑞安市东山街道飞云江大桥东侧巾子山西首 |
专利法律状态
2018-08-28
授权
状态信息
授权
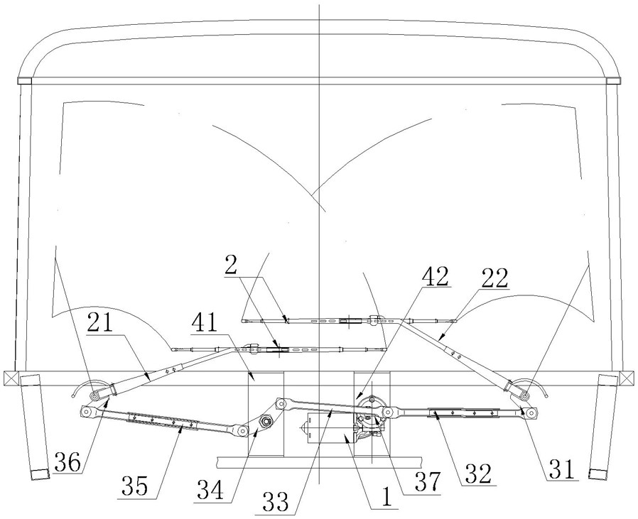
摘要
本实用新型公开了一种小型卧式对刮刮水器,包括刮水电机、连动杆、刮臂和刮片,所述刮臂包括左刮臂和右刮臂,所述左刮臂和右刮臂相对,所述刮片分别装在左刮臂和右刮臂上,所述连动杆从右向左依次包括主摇臂、主杆、中杆、换向杆、副杆和副摇臂,所述主摇臂一端铰连接主杆,所述主摇臂另一端通过转动轴与铰连接右刮臂联动,所述副摇臂一端铰连接副杆,所述副摇臂另一端通过转动轴与左刮臂联动,所述主杆与中杆安装在曲柄上,所述曲柄由刮水电机驱动,所述中杆另一端及副杆的另一端分别与换向杆活动铰接。


