授权公布号:CN217672556U
一种后雨刮器
有效
申请
2022-06-28
申请公布
1970-01-01
授权
2022-10-28
预估到期
2032-06-28
| 申请号 | CN202221628183.8 |
| 申请日 | 2022-06-28 |
| 授权公布号 | CN217672556U |
| 授权公告日 | 2022-10-28 |
| 分类号 | B60S1/40 |
| 分类 | 一般车辆; |
| 申请人名称 | 四川富士电机有限公司 |
| 申请人地址 | 四川省遂宁市射洪市经济开发区河东大道中段6号 |
专利法律状态
2022-10-28
授权
状态信息
授权
摘要
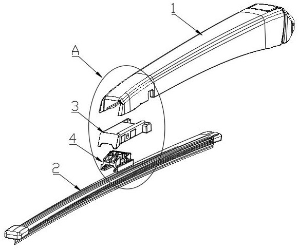
本申请提供一种后雨刮器,包括刮臂、刮片、卡扣及连接头。刮臂的前端底面沿长度方向开设有连接槽,卡扣后段插设于连接槽内;卡扣截面呈倒置的U型结构,其底部具有U型槽,连接头的顶部转动设于U型槽内,其转动的轴线垂直于刮臂的长度方向;连接头的底面具有安装槽用于穿设刮片,安装槽的延伸方向与连接槽的延伸方向一致。各零件之间的结构更加稳定,可减小雨刮器运行的晃动,增加平稳性。


