授权公布号:CN218066423U
一种雨刮臂扭曲角度检查装置
有效
申请
2022-09-13
申请公布
1970-01-01
授权
2022-12-16
预估到期
2032-09-13
| 申请号 | CN202222420162.3 |
| 申请日 | 2022-09-13 |
| 授权公布号 | CN218066423U |
| 授权公告日 | 2022-12-16 |
| 分类号 | G01B21/22 |
| 分类 | 测量;测试; |
| 申请人名称 | 四川富士电机有限公司 |
| 申请人地址 | 四川省遂宁市射洪县经济开发区河东大道中段6号 |
专利法律状态
2022-12-16
授权
状态信息
授权
摘要
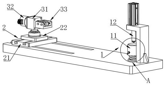
本申请提供一种雨刮臂扭曲角度检测装置,包括:夹持机构、位移机构及检测机构。夹持机构包括升降台,升降台的上方垂直设有压杆。位移机构包括底板及滑动板,底板沿着位移机构与夹持机构之间的连线方向移动设置,滑动板滑动设于底板上,滑动方向垂直于底板的移动方向。检测机构包括转动设于滑动板顶面的旋转座,旋转座的转动轴线垂直于滑动板,旋转座一侧设有编码器,编码器的主轴连接有连接座,连接座相对编码器设于旋转座的另一侧,连接座与编码器的主轴一同转动。可适应检测不同型号雨刮臂的扭曲角度,具有更好的实用性。


