授权公布号:CN217764936U
一种雨刮臂摆角检测工装
有效
申请
2022-07-22
申请公布
1970-01-01
授权
2022-11-08
预估到期
2032-07-22
| 申请号 | CN202221899715.1 |
| 申请日 | 2022-07-22 |
| 授权公布号 | CN217764936U |
| 授权公告日 | 2022-11-08 |
| 分类号 | G01B21/22 |
| 分类 | 测量;测试; |
| 申请人名称 | 四川富士电机有限公司 |
| 申请人地址 | 四川省遂宁市射洪市经济开发区河东大道中段6号 |
专利法律状态
2022-11-08
授权
状态信息
授权
摘要
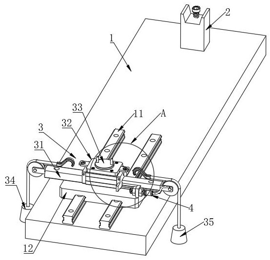
本申请提供一种雨刮臂摆角检测工装,包括:工作台、定位座、牵引机构及位移检测传感器。定位座设于工作台顶面的一端,定位座用于夹持连接座,连接座组装于雨刮臂的后端。牵引机构设于工作台的另一端,牵引机构包括横向轨道,横向轨道垂直于工作台两端之间的连线,横向轨道上滑动设有滑动块,滑动块的顶面转动设有转盘,转盘的轴线垂直于工作台,转盘的顶面垂直设有两根相互间隔的限位柱,用于容纳雨刮臂的前端。位移检测传感器设于横向轨道的一侧,用于检测滑动块的移动距离,根据滑动块的移动距离以及雨刮臂的长度,计算出雨刮臂摆动的角度。可准确得出雨刮臂的摆动角度,并且能适应不同尺寸的雨刮臂。


