授权公布号:CN218310148U
一种雨刮臂校形工具
有效
申请
2022-09-27
申请公布
1970-01-01
授权
2023-01-17
预估到期
2032-09-27
| 申请号 | CN202222553542.4 |
| 申请日 | 2022-09-27 |
| 授权公布号 | CN218310148U |
| 授权公告日 | 2023-01-17 |
| 分类号 | B21D3/10;B21D53/88 |
| 分类 | 基本上无切削的金属机械加工;金属冲压; |
| 申请人名称 | 四川富士电机有限公司 |
| 申请人地址 | 四川省遂宁市射洪县经济开发区河东大道中段6号 |
专利法律状态
2023-01-17
授权
状态信息
授权
摘要
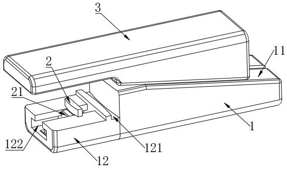
本申请提供一种雨刮臂校形工具,包括:支撑杆、内衬板以及压杆。支撑杆顶面的后段具有上斜面,前端设有凸台,凸台的顶面低于支撑杆的顶面,凸台顶面与支撑杆的前端面之间具有卡槽。内衬板移动设于凸台的顶面,移动方向与支撑杆的前后端连线平行。压杆底面的后段具有下斜面,下斜面与上斜面贴合,压杆的前段位于凸台上方,且压杆前段的底面平行于凸台的顶面,压杆沿支撑杆的前后端连线方向移动设置。使用时,雨刮臂其中一侧的侧壁底边卡设于卡槽内,内衬板与雨刮臂另一侧壁的内侧接触,雨刮臂压紧于压杆与凸台之间。本申请可适应雨刮臂不同的截面尺寸,校形时具有稳定的连接结构,并且能有效防止雨刮臂变形。


