授权公布号:CN216182968U
传动带成型模具
有效
申请
2021-09-16
申请公布
1970-01-01
授权
2022-04-05
预估到期
2031-09-16
| 申请号 | CN202122231124.9 |
| 申请日 | 2021-09-16 |
| 授权公布号 | CN216182968U |
| 授权公告日 | 2022-04-05 |
| 分类号 | B29D29/00 |
| 分类 | 塑料的加工;一般处于塑性状态物质的加工; |
| 申请人名称 | 盖茨优霓塔传动系统(苏州)有限公司 |
| 申请人地址 | 江苏省苏州市苏州工业园区海棠街15号 |
专利法律状态
2022-04-05
授权
状态信息
授权
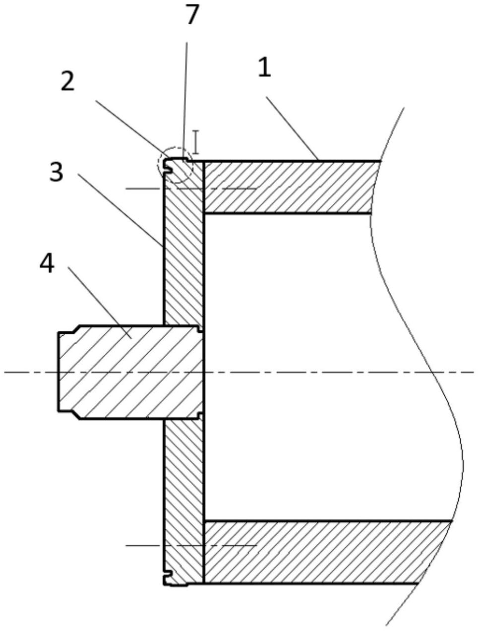
摘要
本实用新型提供一种改进的传动带成型模具,包括两端开口的圆筒形的壳体,壳体外表面具有成型面,壳体的两端连接有端盖,端盖上设置有与壳体同轴的旋转轴,所述壳体的一端至少间接连接有法兰,所述法兰外径大于壳体成型面的直径,法兰外端面上设置有挂线装置,采用本实用新型的传动带成型模具,线绳可以固定在挂线装置上,解决了线绳的固定问题,同时节省了操作时间,提高了生产效率。


